
The recent discovery of a patent for Joy-Con controllers with hinges set tongues wagging with speculation as to what it could mean for Switch and potential future directions for the platform. Will Switch ‘Pro’ feature a curved screen? Is the angle of the two parts measured and translated into the game? Would having the top third bend away from you make it more comfortable with people with big hands?

Filings like these crop up fairly frequently and usually pertain to some mundane internal function of a console, but every once in a while a patent (usually accompanied by tantalising diagrams) is discovered and it never fails to generate a buzz, even if history has shown that for every Nintendo patent filed which does offer a sneak peek at juicy future tech, there’s a dozen which came to nothing at all.
With this in mind, we decided to dig through just a few of the patents Nintendo has filed over the years to see what became of the ideas they contained. We looked at some of the wackiest a good few years back, and there’s no shortage of weird and wonderful concepts to wade through. Before we dive in, though, it’s worth defining exactly what patents are and how they work.
What exactly is a patent and why can ‘Patent Pending’ be found in tiny print on my hardware?

Essentially, patents offer protection for inventors (or holders) who have invested time and money developing new technologies. They prevent other companies from simply copying their work. If granted, the patent holder can license the process or invention should they choose, but they retain exclusive rights to it for a fixed period from the filing date (typically 20 years).
They also stimulate innovation as companies continually develop new and potentially better ideas so as not to infringe on a patent. If you’ve patented a real corker of an idea but don’t have the means to act on it yourself, there’s profit to be made in licensing and there are entire businesses built around the acquisition and licensing of patents. Therefore, companies tend to patent everything regardless of whether they’re vague notions or actual products in active development.
The reason that so many products have the words ‘pat. pend.’ stamped on them is that application processes can be very lengthy. By stating that you have a patent application underway, it serves as a deterrent to anyone thinking of pinching your ideas while enabling you to start selling your product.
Once the patent has expired (and the original inventor has had fair time to recoup their investment and profit from their idea), the invention enters the public domain. Usually someone’s come up with a workaround or better alternative over time. Then again, sometimes the best solution (arguably) was hit upon right off the bat – the first patent on our list below is a fine example...
The D-Pad

Possibly the most famous of Nintendo’s patents, primarily because it’s never really been bettered. Thankfully for non-Nintendo platforms, this has expired and the basic mechanism behind the trusty directional pad can now be used by anyone, be it huge multinational corporations or smaller outfits producing faithful yet modernised wireless pads for use with retro games. These days there’s really no excuse for a pad not to have a decent D-pad. Take a look at the original patent for an idea of the stunningly dreary descriptive language typical of these applications.
The Super NES pad

Here’s an example of a patent which includes the specific form and layout of a controller. Nowadays we see companies like 8bitdo aping the original Super NES controller wholesale in a quest for authenticity, and that’s possible thanks to this patent’s expiration - companies are now free to imitate this design without running into trouble from Nintendo’s lawyers.
Nintendo 64 and Mario 64… stuff

This 86-page document is a fine example of just how far-reaching, non-specific and oblique patents can be. The abstract from US patent 6139433A (“Video game system and method with enhanced three-dimensional character and background control due to environmental conditions”) seems to describe any cartridge-based console which offers control over a character in a simulated 3D space. We particularly enjoy the line detailing how the cart is ‘pluggably attached to a main console’.

It goes on to include screenshots, diagrams of various components (including the prototype N64 pad) and detailed technical descriptions of processes covering camera movement, transitions between areas, control interface, movement processing and much more. It makes for a fascinating read, but we pity the poor person who had to put this document together.
The Sanity System

Another infamous patent thanks to the use of the mechanic in Eternal Darkness and… nothing else. The system, which puts a meter on your character’s sanity level and starts messing with the player by breaking the fourth wall (showing messages that your save file is being deleted, for example), was patented - and subsequently renewed - by Nintendo and we haven’t seen it crop up anywhere else. The images clearly show Link encountering a Bubble (one of those flying skulls) in what the patent would call a ‘gruesome situation’, although sanity effects haven’t been employed in a Legend of Zelda game (or indeed any game) since they debuted on the GameCube.
In all honesty, that’s probably for the best. Notorious and fondly remembered, part of their effectiveness came from how sparingly they were employed and they would quickly pall with overuse. It would be fun to see what new ones developers could come up with these days, though. The patent expires in 2021, so perhaps we’ll find out soon enough.
Nintendo Phone

Combining cell phone and game console hardware into one device, the suggestion that Nintendo should release a phone of its own has been made many times over the last two decades; US Patent 7069044 suggests that the company itself considered the possibility. The application here doesn’t look too exciting, with the game pausing when there’s an incoming call being a standout feature in the abstract. Woah, slow down chaps!
While the diagrams always use contemporary examples to demonstrate concepts (for example, using previous consoles rather than showing unrevealed designs), the pre-smartphone stylings and minuscule screen shown here makes us feel better that this one never saw the light of day.
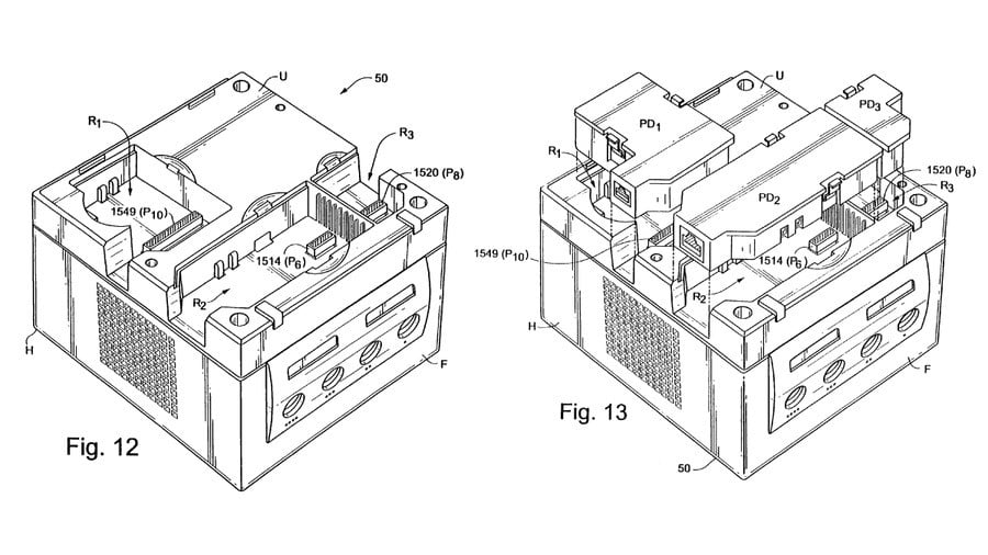
GameCube peripherals

This patent covers recessing peripherals into the main body of a console so that they are effectively hidden ‘inside’ and don’t increase the system’s footprint. Only a handful of games employed the dial-up and broadband adapters which went into the largest space and the Game Boy Player slotted into the Hi-Speed port. Indeed, later models of the console removed the remaining port entirely and the disappointing commercial performance of the console meant we didn’t see any more add-ons (although the most exciting examples from previous systems failed to launch outside Japan anyway – see the Famicom Disk System, Satellaview and 64DD).
We like to imagine a world where GameCube was a roaring success (rather than Nintendo’s second-worst-selling home console in its history) and began accruing stacks of peripherals beneath it. The cute purple box could have become the top storey on a peripheral structure to rival Sega’s Tower of Power…





Comments 12
The GameCube. Never have I had so much fun with a games console only to see non of my friends having one. They really missed out. Only the second console I've had that I've bought 4 controllers for. First being the Dreamcast. I see an unhealthy pattern of consoles I've bought to success rate of said console... (Not mentioning the Atari jaguar, neo Geo pocket and 3do I had.)
I still don't like it when people call it a D-Pad when that's literally not what it's called.
@ALinkttPresent is it not a directional pad? People love abbreviating words and “directional pad” is a prime candidate for a shorter, simpler term...
Those joycons will be good when the hinge wears lol.
Be better sorting out driftgate first lol
Zelda with Eternal Darkness mechanics could've been terrifying
@dartmonkey Half-Life 3 on the Nintendo WonderSwitch! We heard it here first!
Personally I always thought Sega made the best D-pads
Without giving spoilers, there is a certain 3DS game that... forces you to delete your save file.
I thought it was a superb, fourth wall breaking moment.
It's a pity that patents seem to be so easily accessible 🤔
I remember Reggie lamenting how they like to try and surprise Nintendo fans, but that it's unfortunate that so many people try to spoil it for everyone (hacking roms to find clues of future updates, looking up patents etc).
the GameCube is one of my favorite video games systems. the modular design was genius. unfortunately there are so many accessories that could have been released for serial port 1 and 2 as well as the high speed port in which never saw the light of day.
for starters nintendo could have released a wavebird controller adapter that would allow us to use the wavebird controllers without that bulky plug. of course then third party manufacturers could do that kind of thing with their 2.4GHz wireless controllers. it would be a great accessory to have even if it requires a boot DVD to load the instructions into system memory before starting up the game.
if Nintendo released a smartphone i may purchase it, even if it just a Nintendo 3DS with cellular capabilities. (talk, text, and data)
I will be happy if Nintendo patent a drift-free joycon. No need for all these other fancy gimmicks.
GameCube was an awesome platform!
Seeing an add of Smah Bros Melee sold me the system back then.
Before I only had SNES, GBC and GBA from Nintendo. But the real love began with GamCube.
Show Comments
Leave A Comment
Hold on there, you need to login to post a comment...