
It can often be the case that patents point to way to what's on the way or, potentially, ideas that go unfulfilled. A recent patent spotted on NeoGaf does give some cause for great intrigue, seemingly outlining a concept for console hardware; considering the timing, the phrase 'NX' is naturally in many minds.
The new console is still shrouded in mystery, and we have very little solid info about it - and no confirmed Nintendo NX release date to speak of.
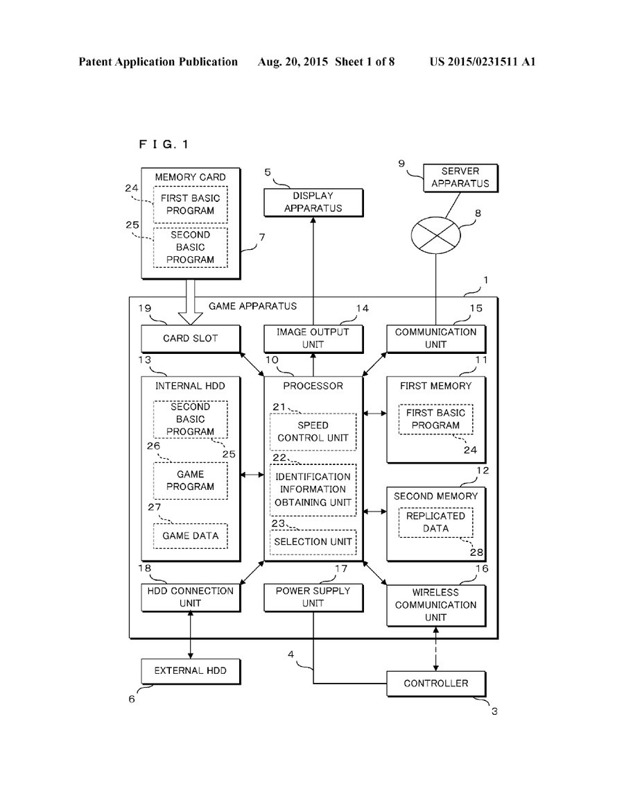
The patent was filed in February but was only available to view online this week. The basic abstract is as follows:
An example system includes an internal hard disk drive storing a program and/or data, a communication unit transmitting/receiving a program and/or data via a network, and a processor executing a program stored in the hard disk drive to perform game processing. The example system is not provided with an optical disk drive for reading out a program and/or data from an optical disk.
The patent itself is, like many of its kind, rather tricky to grasp accurately. It's evident (as is clear above) that the unit itself wouldn't have its own optical disc drive, with the focus on delivery of software through network services or through a memory card; the latter appears to be a backup of sorts, with card-based memory (for example SD) being an option for delivering key updates. To our eye it appears to portray hardware that's primarily online and download focused, with the backup option of memory media to take the place of downloads for those with limited online access. Some are also interpreting this as referencing potential cartridge-based media; while reasonable considering the use of carts in the 3DS, for example, we're not quite making that same interpretation from our initial read-through.
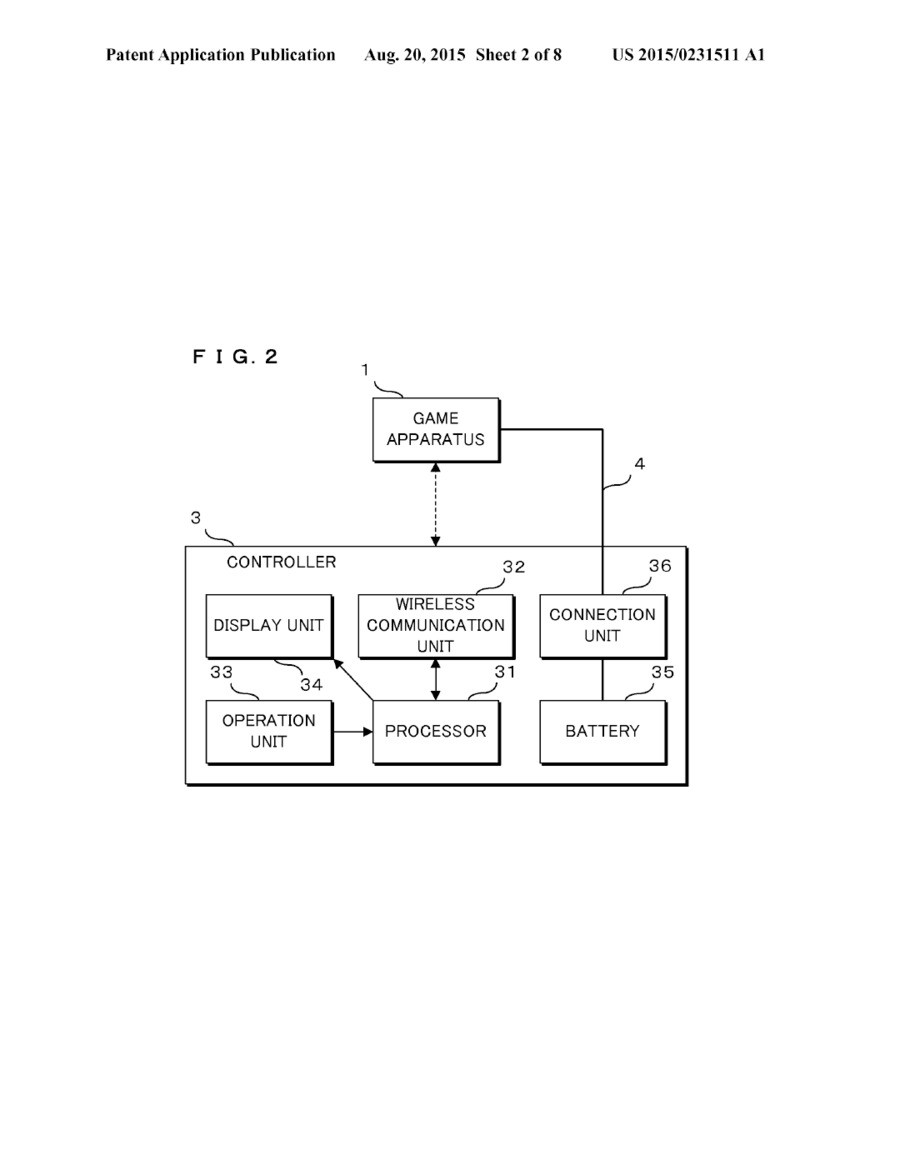
Moving beyond that, this points to a controller that - like the Wii U GamePad - would have its own screen. Multiple internal memory sources - including flash drives - would manage different areas such as the operating system and software (such as games). Intriguingly, there are also references to it supporting apparatus and hardware with optical drives and running them through the prospective new system. Naturally this raises talk of backward compatibility.
The following two diagrams are also of interest.


It's worth looking at the full patent to see for yourself, and we'll be considering what it could represent for a follow-up article soon. Like with all patents it can either be a legitimate indication of hardware on the way from Nintendo, or it could ultimately come to very little. Our early instinct is that it does tie-in with some of our thoughts on what the codenamed 'NX' could potentially be when it arrives, but of course there's no conclusive evidence.
Let us know what you think of all this in the comments.
[source neogaf.com, via appft.uspto.gov]





Comments 236
It sounds like a powered up version of N64.......which can be either good or bad considering how much data the 3DS can handle.
It might be awesome if games of HD quality can run on carts with no loading times. Of course since carts are costlier, it might not be the case.
Hopefully- we'll go back to Cartridges!
If this is true then they seriously need to beef up their storage capabilities. The Wii U was a step in the right direction but still looks old school up against the PS4 and Xbox...even with their last gen iterations. I've thought this might be what we could see for a while though. I'm not entirely for it however. Plus, where would the backwards compatibility come from? Something Nintendo has been proud to offer since the Wii.
Man, it's still gonna be a long time before we really find out any concrete details about this thing
I really hope it's just a cheaper alternative to a disc based system. I'm not sure I'm ready to go full 100% digital.
I highly doubt this points to cartridges. It's possible, but much more likely a download-only console, which I don't think the consumers are ready for yet. All in all it's hard to say what this means, of course it may mean nothing.
I wouldn't mind the NX being a download-focused console. I am embracing digital games more often now. Displaying a game's box on my shelf has lost its luster since I am the only person that sees my shelf.
There is no way the Wii U successor will not have an optical drive.
@Patriplexity Couldn't have said it better
I always liked the idea of using figurines to buy games. What if you use amiibo to buy games?
Not sure how I feel about the digital focus but seeing as this is merely a patent I am not going to jump the gun until Nintendo themselves have revealed what the NX is all about.
Nah, I don't think the next... console will come bundled without a disc drive. This sounds like a peripheral for the system. I'd say a controller that can serve as a handheld, seeing as there will be "lots of communication."
More proof of the next system being an hybrid console? We shall see.
No.
I'm sorry but I can't see the NX, what ever it maybe, NOT having a disc drive.
I know people are slowly moving over to downloads over physical, but the majority of gamers haven't done that, even more so when it comes to Nintendo.
Nintendo removing the disc drive would be suicide unless they plan to make use of some other form of physical storage.
My idea it is a handheld/home console hybrid that uses cartridges like 3ds or PS vita idea.That is in between the power of the Xbox one and PS4.also has a 500gb hhd with HD support. Also have a neat idea.where it installs of the cart and it removes it as it installs and then you take it back to the store for a small refund(like the old coke bottles) and it goes back to be recycled and it starts all over again.
@DreamOn it could be downloaded on to the hard drive.
@andrew20 I don't think stores would be too interested in selling games where they'd have to partially refund it once it had been installed. Also what happens if you delete the game but at a later point in time want to reinstall it? You'd have to buy it again.
And this means anything why? Nintendo patents crap all the time, this is nothing new. If anything it could just be a concept. And here we go with more stupid NX speculation because boy people here just cannot get enough of that, even though we already speculate the every living crap out of it even though we don't know anything official about it.
...I'm not sure if I want to go digital-only. Then again, this might not mean anything, so...good.
I'm think the NX is set of systems, ala Steam Box. Nintendo releases their own which is fully upgradable, but EA might release their own version of the NX for their games with Origin running on it but Nintendo's Network and eShop are used so you could play Nintendo games on the EA version of the system.
I'm fine with going full digital just it better have more than 32 gigs of memory. It better have at least 200, considering Smash U is 17 gigabytes and another 1000 worth of updates, and that's a generation behind.
I had an awesome idea for a controller. Imagine an Xbox or Playstation controller. Now, picture a thin groove vertically through the middle of the controller of the front and back. What if you could pull on one side of the controller and the two parts would separate, revealing a medium sized touch screen?
This would be incredible as you can choose to play in a more ergonomic controller or have the added touch controls with the screen.
@Funky_Kong Un over 70% of the internet users at leas can't move to digital because there ADSL2 connection too slow to download these games.
say a 1Gb game for example would likely to time out & have it restart at the beginning every time.
It's true that most of us is on broadband, but most broadband connections still not fast enough.
I think people are probably more willing to go all download in this day and age. First of all, the millions of mobile phone gamers are already used to download-only games, and many other gamers are following suit.
... -.- NX speculation... We meet again.
I can't worry about this right now. I still have too many Wii U and 3DS games to beat/buy
No disc drive? I don't know about that....
Cartridges ? YES!
@Funky_Kong agreed I lost the motivation to lug extra disks or carts around when I wanna switch games. I want an all in one or damn near all in one solution. I have all my games downloaded to my 3ds. If I'm thinking this is more convenient to do imagine how others feel. Sorry guys and gals but digital is becoming the future. Heck there's so much content online and on my phone that I don't even watch a traditional TV in the sense. I stream my shows and programs. Its all abt convenience.
You know what this looks like? A Wii U mini without an optical drive. The architecture shown in the images is EXACTLY the Wii U architecture without the optical drive.
@TheEAB YES!!!!!
Oh please let us go back to cartridges. They are superior to discs in every way except for cost... so I hope if they do use them, it doesn't drive the cost up...
I'll be devastated if the NX is download-only. I almost always buy physical copies of games. If it uses cartridges instead, although I don't think that will be the case, I'll still be a little disappointed, as cartridges just don't seem as graphically capable as discs.
So my prediction would be that this is just a patent for a Wii U redesign.
@Aromaiden Exactly (well, not exactly) what I thought the moment I saw the title.
Watch people take this as fact and start raging.
@Andremario
Digital may be becoming the future, but not everyone has access to such a system. For me, if the NX is only digital/ a cloud based system, It won't be an option. I got a decent internet at home, but there's no way it will support downloading everything.
@Baker1000
Rumours say that if the NX uses a new architecture, different from the one that they have been using since the gamecube. If that's true, we will most likely day goodbye to backwards compatibility... Personally, I wouldn't complain if it means we may get a more powerful console, though.
@Not_Soos Graphics have nothing to do with a game being on a disc or on a cartridge. When you download a PS4 or Wii U game instead of buying the disc, you basically have the game on a cartridge.
I just said my stuff about this back at NintendoEverything, but yeah this might be somehow tied to the fabled Fusion concept. The console part may NOT be COMPLETELY digital, as it would rely on the handheld device/ handheld cartridge or disc (maybe GameCube-like) to get the game data displayed in HD. A handheld game that can now be playable on a console? Definitely Fusion worthy.
Honestly, optic disc drive is outdated. On Xbox One I don't understand the purpose of having a disc drive - the game is installed or downloaded anyway on hard drive. How many people still watch DVD or Blueray disc? Everyone downloads. So the move to remove optical drive will save cost.
@Not_Soos Lol, what? Cartridges run laps around discs. Cartridges can hold like 5 times or more data than what discs can, they are more durable, faster and everything. The only downside to them compared to discs is the cost as they cost a dollar or so vs a few cents. Also, it is not the disc or the cartridge that is responsible for the graphics, it is the hardware. All the discs/cartridges would do for the graphics is to hold the data which the graphics use which cartridges can hold more of.
If the next system is digital only, it means I don't buy.
This coming from a fan boy that owns every single Nintendo system and owns over a 1000 Nintendo games.
Digital only is not an option.
I think the NX will merge home console and handheld into one.
And I can definitely see Nintendo adopting a digital download only model for their games. Physical media is disappearing at a faster pace, and by the end of 2016 and 2017, physical media will be even less important.
No disc drive would make sense if it was a dedicated VC machine. It would also make the merging of handheld and home console more likely
I'll just wait for next year to talk more about this.
@ikki5 Even then, the cost to produce SD cards and other similar flash memory cards is decreasing further and further, while the storage capacity is increasing. The cost difference is nowhere near what it was back in the N64 days.
Going with some sort of cartridge, which today would be more of an SD card type thing, would be better than optical discs. Definitely with you on ditching discs.
Wouldn't it be funny though if Nintendo jumped from last place in pushing the digital age to 1st place (not counting Steam and equivalents on PC)?
@Baker1000 Well, if it's an SD card like thing...you can easily fit MORE than you would on a Bluray disc onto an SD card. That shouldn't be a problem.
@manu0 After reading through the full text of the patent (ugh, kill me now), a Wii U Mini is literally what this is describing. Besides the explicit lack of an optical disc drive, every claim in it could be said to describe a feature of the Wii U, possibly excepting a strangely-emphasized "Speed Control Processing" system that seems to be nothing more than an explicit way of running a high-speed internal HDD in an emulation mode to mimic a low-speed external (like USB) HDD.
Additionally, regarding the optical drive, the patent says the following (bold added for emphasis, if I've got my formatting right):
"[0020] The game apparatus 1 according to the present example embodiment has a compatibility with another game apparatus on which an optical disk drive capable of reading out a game program from an optical disk is mounted. In other words, it is possible for the game apparatus 1 according to the present example embodiment to execute the same game program as another game apparatus on which an optical disk drive is mounted. The same interface as that of the optical disk drive mounted on another compatible game apparatus is employed for the interface of the internal HDD 13 in the game apparatus 1 according to the present example embodiment."
Also,
"[0075] The present technique is configured to be suitable for an environment in which a game program can be obtained through communication and is configured not to include an optical disk drive,* so that reduction in cost, size and the like of the game apparatus can be realized*."
So it's designed to
1) Play Wii U games, but download-only, and
2) Be smaller and cheaper than the Wii U.
It's literally a Wii U Mini.
Maybe Nintendo is going to bring the "ique" to North America!
I knew it! A hybrid handheld/home console, that is cloud based. A game doesn't have to be produced for a handheld then a home console because the hardware architecture is shared between both sytems. Twice as many games! My main concern is the rateof take up of fibre dsl, 'cause this babies gonna be hungry for bandwidth.
@Luna_110 same here. Ditch the backwards, go for power...
Sounds like a paired back version of the Wii U. Kinda like the PSPGo but for Wii U games.....
If its download only, it's a no buy from me. Physical games or bust.
I rather not spend weeks downloading a game. I just can't get fast internet. Plus I want physical for my Zelda collection.
Given how 64GB and beyond flash media are becoming more common, I won't put past Nintendo using that instead of a disc drive
@Daemonite They actually might because 1st going to save them money. The industry wants to move to digital only, the consumers are the ones not ready.
@Aslanmagic Eeek! Where do you live without fast internet? I always kept my internet download speeds around 100 kbs to 1 MB a second for $28 a month, until i got a deal with Comcast for 15 MBs at $40 a month. Loading the 500 MB Splatoon demo in 45 second was surreal.
Oooo I do hope its digital only. $5 for Titanfall on PC digital vs $40 on disk that same day.
25 CENTS for Mirror's Edge digital vs $55 i originally paid for the disk.
$10 for Earthbound vs $255 for the cartridge....
sure, Earthbound was years later, but Titanfall, Skyrim, and every Atlus game ever are $5-10 digital, lordi knows how much for some physical thing i have to carry around.
Bring it on, Nintendo!
@russellohh I'm exaggerating a bit. I live in rural MN so I can only get up to 1 MB. We no longer have dish, but stream through Amazon. So I can only download when the TV is not in use or anyone is using the computer. I bet it was nice for you to get the demo that quick, that's awesome!
@MikeW And this might be nintendos ace up the sleeve to get 3rd party teams back on their sides. The industry is begging for download only, its easier for them and more profitable.
i.e. a multi-platform game on ps4 vs NX will be more lucrative on NX just off how much money they would save/profit compared to every physical ps4 game.
If they can do that plus make it easy to port to their system, its certainly a win. Somehow though, it all sounds to good to be a decision nintendo would make.
If this works out for Nintendo that's great. If it is download only I hope the download function is good so that if there are interruptions to downloading I don't have to start over. That would be a pain. Or I could take it to McDonald's or something.
@Fath Wow, thank's for reading all of it and backing me up on this!
I'm fairly sure Nintendo makes most of its cash from physical sales. They wouldn't be that stupid... would they?
@ningeek185
Cool idea, but it's actually more ergonomic to have your hands spread apart more. Like how holding a nunchuck and wii remote is much more comfortable than a "regular" controller where you have to bend your wrists more.
The unergonomic part of the current GamePad is from trying to make it too much like a big-bar-of-soap-style tablet with only a little help on the grips on the side. It could have easily been shaped more comfortably if they weren't trying so hard to be a tablet at the time.
Nintendo is looking at STEAM and iOS for business research into how their company should evolve. Getting rid of optical drives would cut console production costs and software distribution overhead. Think about what Nintendo did in the 80s and 90s in Japan. People had blank cartridges that they took to an in-store kiosk and could download a game. Imagine Nintendo bringing back that concept with download stations at Gamestop and Bestbuy where you brought in an SD card that was formatted with your system id and you could fast download a game to the card and upload it at home. That would solve the no-internet problem.
Cool! So it's either digital-only...or it has 3DS-like cartridges. The NX just gets to be more and more interesting!
@manu0 @Fath
Wii U mini is possible. Just not sure the market that buys consoles late and on the cheap is the same with fast internet connections to make this work. It does however make sense given the problem of sizing down for a mini-type console release with that big ol' spensive GamePad to go with it. :/
@Fath
I highly doubt it. While they said they intended to incorporate Wii U's architecture into their next system. I don't think they are going for a Wii U mini. A download only console makes some sense as thats where it looks where like consoles are most likely headed in the future. Also I wouldn't be surprised if the controller turned out to be a more refined gamepad. I don't see anything in the patent that points toward a Wii U mini. It could be anything really.
The conclusions people are drawing here seem specious though! Love how confident everyone is with their completely contradictory revelations about what this is.
Just don't be surprised when only one of us is right or none of us is.
@aaronsullivan Bear in mind that I'm not saying they will ever release the system described here. It's just a patent at this point.
But if they do, I imagine the Gamepad will get a redesign as well to make it smaller and cheaper.
@Wolfgabe We're not saying that the Wii U mini IS the NX. We're just saying that this patent has nothing to do with NX.
@manu0 Even if this patent has nothing to do with NX, them ditching an optical drive is quite possible to keep costs down on the hardware and to push people towards getting their game digitally, but with SD cards or something similar as a physical option.
Discs are bulky and difficult to store without eventually damaging them. Blu-ray like mediums (think primarily the additional scratch protection, not the expanded storage and improved dual layer function) are nice for little ones, but tend to break without the flex offered to thinner and more adaptable DVDs.
My initial take on this is 3 pronged. 1) The controller has it's own processor. The option to go truly wireless with a smaller Gamepad (maybe PS Vita sized) would be fantastic. 2) Digital distribution is GOING to change. Not might change, it's going to. And it's probably going to change sooner than we think. Imagine going to the store with your portable. The clerk processes your transaction and you either get a physical card OR the download goes directly onto your portable. The eShop is always integrated, so it adds the purchase to your account, so you can redownload it at any time. This way, you can still get the physical perks and goodies, without having to worry about the physical game becoming damaged and unusable. The perk for Nintendo is obvious, it guarantees a purchase and with no resell, it ensures that every person that buys a game buys a game from Nintendo.
The perk for fans is, without used games bogging down the retail market and little overhead to worry about, prices for games may actually normalize or plateau. They could even drop from current price points (without worrying about physical game manufacturing and distribution, companies would save considerable amounts of money) or ensure faster distribution of new games and content.
And finally, most or least importantly (depending on how much you read into the posting), 3) it seems Nintendo is finally separating the RAM into system functions and gaming WHILE keeping the GPGPU infrastructure. Really, 2GB for system would be fine (4 would be ideal) and 4GB for games (8 would be ideal) would technically work as few developers properly utilize any more than 4 as is. The PS4 uses 8GB of DDR5 and it's a bit of overkill (the games utilize around 3-3.5GB of RAM) due to the fact Sony still has close to 4GB locked to system functions.
Let's say Nintendo used a similar system. By keeping the GPGPU and increasing the speed (2.1GHz, triple core doubled is only 3.4GHz on a triple core processor and 2.8GHz on a quad core, while a 2.4GHz, 6 core processor is close to 3x as fast), Nintendo could effectively match low end outputs from the PS4 as it currently performs. Think 720p as opposed to proposed 4K.
Getting everything to run at 1080p, 60fps is the tricky part, but Nintendo may be eyeing 1440p by then and the widely accepted 120hz broadcast speed for visual processing. It may seem like a pipe dream at current, but Nintendo knows that in another 18 months, 4K won't be some fad anymore. iPhones (whose small screens are made ridiculous with their ultra HD resolution) have already adapted this tech. Other tablets and laptops are getting there.
The big issue is, should this not be over-analyzed nonsense, how does backward compatibility factor in? The answer is already apparent, should the information and Nintendo (or rather, Microsoft's) current strategies be further examined. Physical discs are archaic and the medium is in need of expansion. It's just a fact. As things look better, they grow. As things expand, they grow. So it is with media. Discs are needlessly expensive and fuel isn't getting cheaper. Nor is the oil required to produce these discs. The eShop, when the NX releases, is set to expand considerably. EVERY game Nintendo recognizes as backward compatible, Wii U, Wii, GC, N64, SNES, NES and portable as well, will be a part of this new digital landscape.
The sacrifice is physicality, a sacrifice remedied by memory cards and 'cartridges' no different than current 3DS / Vita cards. The benefit is portability. A system universally accessible, a system that truly necessitates Nintendo breaking region locks and opening its platform to new developers and the return of tried and true monoliths. The only real boon to gamers would be a Nintendo hybrid that mimics Steam's PC universe and abandons the predication that consoles have to work a certain way. While also going everywhere you want to go.
Three words: Disc scanning Lasers!!!
@Funky_Kong They already are the fist console maker to drop physical media...Nintendo's Ique did it here in china in 2003.
https://en.wikipedia.org/wiki/IQue_Player
No disc drive no buy
@aaronsullivan
Yeah, I agree. Although I do like Nintendo's controllers (the minority of them, anyway), I feel as though the Xbox and Playstation controllers feel better in the hands. Maybe it's just me, I don't know.
But having the screen implemented would be awesome because Nintendo knows how to use touch controls, as we all know.
The more I heard about these next gen systems, the less interest I am about playing any of them. Usually next-gen often makes you feel excited and happy that you can't wait to try em all but nowadays the features, concepts, and ideas of these consoles often brought to us more disappointment than how they use to. At this point I'm more excited for those retro clone consoles than these and that is saying a lot.
That's a lot of words for something that sounds like a Wii u without a disc drive.
@Wolfgabe @aaronsullivan @manu0 (in agreement with the latter)
Patent applications are like toilet paper to corporations - a trivial expense, but something you need a steady supply of to cover your ass.
Nintendo wouldn't have to commit to any business decisions to get a Mini patent; they'd just have to catch a USPO reviewer asleep at the wheel and convince them that "It's like the console we've already sold millions of, but without a part!" - which is pretty much what this patent says - is a novel idea.
Which, sadly, probably isn't too hard to do.
@Fath
A Wii U Mini? Yes please! I need another Wii U for my own and I'm only going digital now.
That is a worrying patent. Digital only sounds horrible and going back to having cartidges sounds expensive.
I hope this is nothing more than Nintendo sequring ideas, ideas that will hopefully never actually happen.
I already told you guys: Nintendo will be the first to ditch physical media. And if it is a smartphone (wich is not unlikely), then it makes perfect sense.
Not that I am happy about this though. Its terrible!!
"Download only" is definitely the future and I would be surprised if Nintendo actually took the first step before Sony and MS. Maybe they're finally going to get with the times
If the next console is download only my reaction is NOOOOOOOoOOoOoOoOOoo!!!!! But guys could it be referring to the handheld? If the NX is indeed a hybrid could this merely be the way the handheld talks to the home console? I haven't read the patent I'm far too lazy but I hope I'm right..
To all those moaning about speculative nature of this news, you have to remember that it gets people talking about Nintendo's NX.
Nintendo knows that once new patents are applied for, the news of it gets out eventually. Regardless of how people feel about the patent, people are going to talk about it. Nintendo also knows that if people are talking about their patents, it keeps people focused on their next peice of hardware. It's free advertising and keeps the name relevant, along with keeping people interested in what's happing at Nintendo.
@Baker1000 I agree with Nintendo having to step up with the storage capabilities. I don't have many digital games installed on my premium version of the Wii U but it still complaints about the HDD being too full when downloading demos or dlc.
They also need to work on how they handle with the digital downloads in the sense that the consumer should have better rights for them.
These companies are always filing patents, most of which never get used. I think anything they're submitting now will be for the future, not for NX. I'm sure by now NX's specs are pretty much set, and they've shared rough details with 3rd parties so they can begin work on games, while I'm sure internal studios have early dev kits.
Digital only is inevitable. Just look at the other media industries. People need to get over this obsession with caring more about having boxes on a shelf than playing the games.
If the next console is download only then it will be a complete failure unless it has at least a 1TB hard drive provided the game files are smaller than PS4/XB1.
So it seems that the will be possible two systems (home and handheld) that both use the same physical format (in this case cartridge). It would be great for Nintendo. There would be no need to split their developing divisions into two. There would be so many games to play on either. But that would beg the question, how big the handheld would end up being and how much powerful would the home system be if it's smaller version runs the very same game?
@TruenoGT I went mostly digital too, so I'm hoping there will some kind of digital BC with whatever comes next. Fingers crossed.
@Nego What's wrong with consumers rights at the moment?
Also i think that download only is very realistic. You have to keep in mind that there is a huge profit to make (for physical the money distribution looks something like "store 55% packager 5% nintendo 10% game dev 30%" but download is more like "nintendo 30% game dev 70%) and knowing that everyone will be buying digital far fewer copies will have to be sold to justify making/porting a game. This also applies to third parties. Furthermore nintendo allowed you to with wii u just add a hard drive. If they began supporting the faster hard drives it would work (external hard drives made for pcs are cheap). For those considering the internet issues they are pretty much only in the US and Japan is usually what nintendo hardware is designed around. In Denmark (northern europe) you can get a 100 mb download everywhere for not that expensive prices. Japan is probably similair. Furthermore allowing people to resume their downloads would work for internet disconnects and stuff and as long as you can play games during download times it's going to be fine. I think it would work but there should be a way to get your physical wii u games on the eshop if it's backwards compatible.
No Disc drive can mean 2 major things:
Its a digital catastrophy like the PSP Go, completely at the whim of the local web stores.
In case of the PSP Go, this literally fell apart due to the abyssmal PSN store offerings.
Or it could mean a return of the cartridge. In this day and age, something as big as a pinhead can store up to 128GB of memory.
The average BluRay stores around 50 and comes with heavy load times or mandatory installations to not stress the laser unit too much.
So what if Nintendo developed a method of making card based storage units with a vast capacity, longlivity and fast access times cheaply available ? You could save on packaging too, as they could very well be distributed like the eShop cards are.
I am in camp solid state. Love it love it love it love.
Everyone lost their minds when Xbox was going to change their DRM policies and force people to connect to the internet once a day, but fanboys here are being very supportive when there's any suggestion that the next Nintendo console will be digital only.
As for the patent, I work in a technology company that creates patents whenever anyone has a new idea regardless of whether the company will use it. The main benefits for a company to do this is that it future proofs the idea so that if they decide to use it in the future, then they can. Also, having lots of patents helps defend against patent trolls.
Therefore, it's fun to speculate, but there's no way to know whether Nintendo will use this. They could use it on a Wii U mini, the NX, they could release two NX consoles and one has a disk drive and the other doesn't, they could avoid using this until the world is ready for digital only, or they could never use it.
Terrible idea of download only games.. I like to have my games in my control, physical. Ive heard of people on xbox one who have had unfair strikes on their account and bam, they can no longer access any of their downloaded games. Am I going to have to worry about that with Nintendo now? Not only that but I don't like to have to worry about space, those console harddrives fill up fast. I just want to pop in the disc and play. Not worry about if Im going to have enough space for all my games.
@Lastar One thing is the ownership of the digital copy of the game. If you own a digital copy, you don't really own it. It's on your account and on the console but once Nintendo decides not to support the console or just plain pull out the copy away, there's no way for you to play the game anymore. You could argue that the same applies to physical copies and while you may be right, a physical copy is still a physical object that you own no matter what the company owning the rights for the game decide to do.
Another thing is the pricing. Over here digital copies are sold close to the same price as physical ones which definitely has not made them appealing for me, especially since digital copies don't end up in the sale bin often enough. The price more or less stays the same when it comes to first party Nintendo games.
Granted, with digital downloads the company does not have to spend money printing the game but in my opinion that should also effect the pricing, especially when you can get a physical copy with it's all showcase and resell value for the same price, some times even for a lower price.
I also have a high speed internet so downloading in general is not a problem. However, when I use my home consoles, I am looking for playing a game right away. Downloading updates can get annoying when I only have a few hours a week to play on my Wii U.
The images supporting this patent definitely point towards a credible idea though, as others have said, dropping the optical drive is a bold move.
There are several enhancements which point to this being a new console platform; not simply a revised Wii U.
Just my observations, but I hope it to be true. It'll be sad to not have retail pricing for certain games, but the convenience of downloading titles and being able to play them without taking discs in/out and hearing the drive 'take off' is great.
Once the gaming industry will go digital-only I'll finally have a good reason to stop playing videogames after 25 years. Since you can't sell or borrow a digital game, you are just renting it! DD games sometimes costs more than their physical counterpart so all the "no printing manuals and cds and boxes that have to be delivered by a truck in a shop" is just a crappy joke. Customers just like to be cheated...
my admittedly limited understanding here paints the picture of the system being in two parts, a controller/handheld that can play games via cart and then an base unit that can stream games to and from the handheld. so you can play the handheld's games on your tv and the base unit games on the handheld.
Unless of cause game steaming means a service like Onlive, where the box under the TV doesn't actually play games and the server handles it instead. which would be odd for Nintendo the "behind" company in terms of internet going all in but having said that I recall NERD (Nintendo Europe Research & Development) saying in a interview they was working on "cloud tech"
Please please please Nintendo, don't make a digital only console!
I want to actually own the games I buy!
I think that if nintendo went full digital on their next console, they'd lose 3rd party for good, and nobody would take them seriously at all. They'd have a bunch of indie games and their own, but I wouldn't see many people jumping all over a console that's just downloads and always has to be connected online...the always online is what I'm hating about the PS4 (I live in the boonies with bad internet service at times).
I think it would be a controller with LCD screen on it, that you plug the games into it (like the VITA games), and play using that onto your TV...or plug those games into the console itself. Getting rid of discs is not something that could work out though, but only time will tell and only time will tell of what this system really is.
Don't forget that this article could be false, as it seems the NX is getting a lot of publicity and nintendo really hasn't even said much about it.
Hm, doesn't sound like the full console, but more like a beefed-up GamePad that can be used as an independent unit. Which is what I though the GamePad itself would be until I looked up how it actually worked.
This strongly hints at the new peripheral being capable of running smaller download games on its own, while bigger games still get streamed from the main console to the TV and peripheral simultaneously - or, like the WiiU does, streams a separate image feed to the peripheral.
All in all, that actually sounds somewhat promising. I must say I'm positively surprised. Still not getting it, though...
Maybe they want to do a micro console... I quite like Playstation tv for what I paid, £40, since I already have a number fof PS1 and PSP games on my psn account.
A cheap console with a retro download element might interest me.
If a console is to have expensive, so called 'triple A' games though, I'd want a disc drive.
@crimsontadpoles I'm desperately hoping it's just for a Wii U mini which delays the release of the NX by a few years.
@Nego Nintendo can (probably) also killswitch physical copies the next time you connect to the internet so there isn't really a difference. Both would result in very angry customers so it's not happening. Furthermore Nintendo is still servicing discontinued consoles' stores (Wii store is still up) and they don't just give you the middle finger if you want to transfer games between your wiis so i'm not too worried about that. Pricing is of course a big deal but the sales have been getting continually better on the eshop so there's that. Furthermore some first party games go down in price very slowly at retail as well and third partys are used to giving sales on other consoles so again i'm not too worried there. Maybe games will also become cheaper because of digital only because some stores often say "if you price it cheaper in your own store we won't sell it" and going all digital effectively removes those threats from the decision making. Furhermore nintendo also do updates for physical copies so not sure what you are trying to say with that last bit, please specify it some more.
People are saying they won't buy the NX if it's full digital, well guys the sad truth is that it's going down that route eventually if you didn't know. Being stuck in the past won't change anything. This is all speculation though so maybe physical games still have a bit to go?
@SuperDan64 2013 showed that the majority aren't ready for digital only (i.e. the original Xbox One reveal) so it's probably too early for a new console being that type.
@Grumblevolcano I myself hope that we stay physical. Let's hope Nintendo get it right.
Sounds to me like one of the following:
A) Wii U Mini
B) Handheld portion of a Fusion-esqe console
What it does NOT sound like is this:
C) Discless console
@freaksloan
Oh it's most definitely an option- I just hate owning retail digitally. I would not be happy if I couldn't have my discs.
But that doesn't mean I wouldn't buy it. I am a gamer, after all, and in the end it's the games that matter. As long as Nintendo is making games on this planet I will find a way to play them.
Physical is essential to me, partly because of the security it brings that you own a game, but having recently bought a PS4 and learning how long it takes to download full games through the PS Shop (3 days for SSF4?), I fear Nintendo would go down the same route. I can download the games, it's just it mucks up being able to watch anything via the internet at the same time.
@JaxonH Here here! Faster technology has no moving parts again the better but I sincerely hope gaming does not become rent only. I still want a collection even if it is a virtual one.
Could be a Wii U slimline?
@Lastar First of all you can play physical games in the future if you have the game disc and the console. Buying the game discs online from second-hand sellers is not too hard although it's expensive. However, it's still an option. Once a company closes it's digital store and thus makes you unable to buy their digital-only game things get worse as there's no way you're going to play the game anymore. I support abandonware: if the publisher/developer is not keen to sell a game any more, you should be allowed to get it on your own in some way, be it to downloading it "illegally" or buying it from someone else. Once they pick up the interest to sell it once more, things obviously change. However, this does not work with digital-only games made for a specific console, especially when it comes to Nintendo being protective over their consoles and games (I'm talking about the homebrew scene being shut down and the fact that Nintendo's new ideas of controls do not make emulators on a pc very interesting). With physical copies of games being available in some form there is no problems like these.
As to your other point, yes, Nintendo does update physical games. I have a problem with that as well when it affects the time I have for playing the game. As much as I love Splatoon for an instance, having to download an update (even if if takes only five minutes with the install) does put me off when I only have a couple of hours time to play during a week. And yes, there's always the stand-by mode but I always keep my home consoles unplugged when not in use.
But the problem is more present when talking about digital copies. If I have a long day at work and I've been waiting for a game that is launching that day, I'd rather spend time in a shop getting a physical copy on my way home and launching it right away when I get home than waiting for a digital copy (with possibly even day 1 update!) to fully download when I get back home, especially if downloading and installing the game takes longer than actually buying the game in a store.
@SuperDan64 Actually I don't think physical media is going away. eBooks haven't completely gotten rid of the interest in real books. Even in music, where the prefered medium was digital for the last decade or so, we see a rise in physical media again. Sure, I expect the digital medium in the gaming industry to grow, but I do not expect physical to go completely away. I'm all for a world where both are an option; physical and digital, and I don't really get why some people want to get rid of either one medium as fast as possible. Having multiple options is always better.
I share the same thoughts as a lot of people here, i'd hate it to be digital only. But my limited experience of patent diagrams tells me these are awfully simplistic. Perhaps there's more to come? No optical disk drive doesn't mean digital only. They could be looking at something else.
@JLPick EA would love a digital only console then they can have full control cheaper and they can drop the game every year they are think of a digital only console and the have that EA access thing.Also more control in to the 3rd party.
They can in theory make disk games unplayable by a digital switch where they shut down the servers and it can come up as disk unable to read like error code that can happen in the middle of the night no update of anything. When you buy a console physical or digital they now have full control over it.
@umegames
Yeah, a decision like this coming from Nintendo would probably be too good to be true!
@ningeek185 I actually had the exact same idea back when they first anounced the NX!
Don't think I'd mind if it was a digital only console like some folks are speculating... as long as the prices for digital games don't continue to extract the urine.
If the prices stay as they are (or go up) they can stick it where the sun shineth not.
I think we need to stop thinking about NX as a wiiu successor and more as the 'third pillar' like I think Nintendo has been trying to communicate.
Is it possible for them to create a PC compatible console such as whatever is available for PC could be available for the NX and, yet have its own proprietary software (e.g. Mario, Zelda, etc.). That would solve the third party problem. I would think all consoles in the future will eventually share a universal platform but distinguished only by their exclusives and UI. It just beginning to seem archaic for something like assassins creed to be released on half a dozen formats when it's essentially the same game. Not like in years past where there were noteworthy differences between different versions of the same game whether it was on the SNES or genesis.
The future is digital. No optical drives, no memorycartd, no hard drives, nothing.
Wait, what?
U wot m8. Umm if we went back to cartriges and all of that, third party developers I bet wouldn't even try to port games to the NX.
Cartridge based or SD based console retro to futuristic, i like it sign me up. NX nintendo extreme
If this is the NX and has no disc drive it could still be backwards compatible with the Wii U. One way of doing it could be connecting it to your Wii U and installing them to the NX hard drive like how you install an xbox 360 game. You can then use your Gamepad with the NX or maybe it will come with a new improved compatible Gamepad. It sounds fiddly but will stop a lot of people complaining.
I'm still just waiting till next E3 when they actually show off the stuff. This kind of stuff is still food for thought on the possibilities of the NX but know one knows what it actually is except for Nintendo themselves right now.
Figure 1 shows a "Server Apparatus", what could that be?
Hmmmmm.........very interesting, very interesting indeed. Guys, we need to remember This can mean everything or nothing. This seems....odd. The PSP Go was critical and commercial failure, just six years ago. And yet, so much has changed in six years, it truly is incredible. Still, I think it is too early for Nintendo to go for an all digital console. Now if the mysterious NX (WHICH AGAIN WE STILL KNOW NOTHING ABOUT IT!!!!!!!!!!!!!!!!!!!!!!!!!!!!!!!!) is a hybrid, the console portion (as is seen above) looks to be a docking station. That makes the handheld portion the priority, which could further damage 3rd Party relationships, in the west. The handheld being the priority in Japan means Nintendo will have major support in the East, much like the 3DS.
But we shall see...we shall see.......
What if what is speculated to be a cartridge is really just a NX memory card that you can take to retail download stations? This would help with the people with out decent internet.
DISGRACE. Nintendo downloads are slow and pathetic already. Judging by Nintendo they'll only give you a paltry 80GB to play with - NX is already dead. Good old Nintendo - budget hardware at a premium price.
It's best to just wait and see. It's fun to speculate but who knows what's really going on.
@Not_Soos
"cartridges just don't seem as graphically capable as discs."
What do you mean? The type of storage only affects possible size and reading speed.
It looks pretty interesting. I'm a bit too tired to speculate, though, so I'll just continue the whole patient-waiting thing.
I really hope it's not digital only. Where I live currently, my internet isn't good at all. I can't really afford to move out either unless I get hired immediately after I graduate college in the spring. Plus, I like collecting physical copies of the ganes I purchase.
I'm calling it right now, the New New 3DS home edition! It can be like the PS TV where it can stream Wii U games to another TV or play 3DS or DS and virtual console games.
Lol, Ninty's been playing mind-games again, I see...
@Fath Thanks for doing the work. Makes sense since this tends to be what Nintendo does. It seemed kind of funny that a patent for the NX would be appearing already.. Seems to me like Nintendo would want to time it so that the filing would go through just after the announcement. Of course, people jump to the conclusion that it is the NX, though. Just like people jumped to the conclusion that Nintendo wasn't going to be releasing any more games for the WiiU.
Former Windows is developer working on the console, $150, less powerful than the ps4, and now no disk drive. It all ads up, people. Nintendo is doomed.
Looks like my dream that the next gen home console being able to play the next gen handheld might actually be a reality. Although, I am one of those people who rather have a console that can natively play handheld games via its own slot (akin to the super gameboy or gameboy player). That shouldn't be much of a problem if both handheld and home console have the same architecture.
As for physical copies of games, I don't know, I'm starting to not care as much about it. I've been buying most of my games physical, but the contents inside those boxes are decreasing in quality fast. I open up a manual of a wii u or 3ds game, and it's just either a folded instructions "booklet" or a four-page manual. Special Editions are still pretty decent, but I don't buy those very often.
Also, as for games becoming full digital, I don't think they'll be doing that for a while. If they eventually go full digital, if they can offer great sales like steam sales, then it's alright with me.
@Spoony_Tech I have become phobic of physical media Tech.... All digital seems to be working for me
Could just be a discless and revised Wii U...
@ikki5 link us info to back up your claim.
It's amazing what people will defend just because Nintendo is doing it. If any other company had the gall to make a discless console I'm betting most of the people praising this would be calling bloody murder, as I'm sure they did when the Xbox One was revealed.
Also, LOL at the people seriously thinking physical media is going to go away. Just like physical books and CD's all went away when things like iTunes and eBooks showed up. People are really desperate to justify every single thing Nintendo does, aren't they.
@Squid_Gangster As long as the NX isn't weaker with than the XBOX ONE, we should chill.
As for no disk drive, I hope they don't go to digital only. I love having physical copies. They probably won't go away, so I hope its a Wii U mini. (which would be dumb to make but whatever.)
If it is digital download only, as i believe by reading this (cartridges? Nahhh cmon), then it mean Nintendo will skip the distributors. Then this means that they need to strongly advertise their games on the media, since you won t see them at gamestop anymore. Then i think about Nintendo skills at marketing... And i am not sure if I cry or laugh...
@Retr_acro you should try to open the box of the witcher 3 then.... Game, guide, manual, audio cd, stickers and world map... Or gtaV...
Only digital means also no second hand... And by seeing how Nintendo games rarely get discounted... yeah... If it s like that, is shelf for me...
@YUMatty https://www.youtube.com/watch?v=ry1-QnaM7cA
Do you know how impossible to find amiibo are?
@Robotron2084 eShop prices are 40 bucks for a bad game that usually goes for $2.
@mariovslink62 I disagree. The Xbox one has been out since 2013, and the NX will come out as early as 2016. You can't have the two be approximately equal in power, that would be a fail.
People are already saying the xbox one and ps4 are outdated. Nintendo needs something twice as powerful as the ps4. Harddrive, Ethernet, voice chat, you name it.
@mariovslink62 it also needs to keep a disc drive. Studies show most gamers still use it.
@Squid_Gangster It doesn't have to use an optical disc drive. It can use some sort of SD card. While they are more expensive to produce, the difference is rather small - far smaller than back in the N64 days. Cartridges like the 3DS uses have faster load times than discs and make less noise. Not to mention the fact that they aren't locked to the maximum capacity and can go with smaller (and therefore cheaper) capacities for games that don't take up as much room.
I always get the physical copy of a game if it's available. I hope it at least comes with a disc drive!
@Zelkardaim
I think it's one too
If the content is only online, they can keep the prices up.
The best deals are always optical discs. I'm not happy with this news.
Wil concider to buy this console, even while i bought all consoles sinds the NES.
Well, as long as it's good, I don't really care.
At this time and age a console needs these to survive, losing one of these will mean death to that console:
Optional features that could also help are these:
Also Nintendo won't go all digital, not if people wants to lose jobs.
I'd be very sad indeed if it were digital only. Keep it physical baby! I mean, I have somewhat moved on to digital in music and TV (with a slightly heavy heart), but games are special.
And I'm not the only one...
http://uk.ign.com/articles/2014/05/13/74-of-american-gamers-prefer-discs-over-digital
http://www.mcvuk.com/news/read/72-of-uk-gamers-prefer-buying-physical-games/0132881
@Aslanmagic Eeek! I always think of areas like yours when i hear about a 40GB patch for a game. "Well, 1/3 of the country will never get it..."
@retro_player_22 All good points.
I'm sure digital sales have affected retail outlets this gen. Sony and Microsoft have been pushing digital sales much more aggressively than the previous generation.I find cheaper deals online more often than local shops in my area.
I still prefer physical copies whenever possible.
Even if it is digital only they can still sell special editions with download codes in stores. I'd rather pay less or get more powerful console than have disc drive that i will never use.
@DarkJamD When I tried to buy a music album this year, and the new Dragon Age, both were $20 and $40 to download.
But, for lordi knows what reason, it was $10 to buy the CD- that comes with the digital version. Dragon Age was $19 on disk that week from Amazon- as soon as you type in the serial number in the case, the game begins downloading.
So, i listed the disks and box on eBay $5 each. The CD was unopned, but i made it clear that the disk serial was used- they were literally bidding on a box with a plastic disk inside. Bidding began immediately.
People paid a total of $38 for the box of my now, -$8 purchase. Digital forever! It costs negative eight dollars...
@defrb Earthbound is $10 online/digital. A cartridge is $300.
Titanfall was $30 on my birthday as a disk. It was $5 digital the same day.
Mirror's Edge is $48 to buy the disk right now.
I bought it on Humble Bundle online for 25 CENTS.
If it's online, no one can keep the price up.
If the NX is going to be download only, i'm going to be a little down but I'm sure I'll buy one regardless. However, if it brings the triumphant return of physical cartridges, I will be pretty excited for that. Although, in order to provide the amount of storage per cart to match up to PS4/Xbone, we might end up with one of the Dolphin Prototype carts like this one.

@Fath That's a nice analogy, haha
@Grumblevolcano My WiiU is 3TB. If a system released 4 years later has a SMALLER harddrive, i'll be shocked.
@AshFoxX It costs about $8 to make a 64GB SD card. That's larger than 10 PS3 games put together. I'd be 100% fine with non-digital games coming on tiny SD cards!
Id want an optical drive as the UK is not ready for digital only. Servers crashing every release day as everyone goes online etc. but if so I can still see Nintendo selling boxed retail copies. Seems every game has a special edition these days. Instead of a disc though you simply get a download code in the box. Either way its way way too early to have any real idea what they are planning
@Nego But why would Nintendo ever shut down that store? If you download something chances are you bought it a few seconds ago so Nintendo would profit as both data transfers and hosting a web store becomes much cheaper (for new websites this is balanced out by more need for ads but that's not nessecary here). There will be redownloads sure but i just don't see the store closing down. Even if it happens i just don't see Nintendo fighting homebrew for a console they no longer support. Dosen't make much sense at that point. Also Nintendo is way nicer about homebrew than the competition (both ms and sony have bricked consoles that used homebrew, nintendo dosen't do that) so calling them very protective is probably overdoing it.
I still don't understand the relation between customers rights with digital games (what this conversation started with) and game updates that are shared between physical and digital copies. I see that it's annoying but i don't see why it's a bigger problem for a digital only machine. Also as you pointed out Nintendo is trying to solve this with stand-by mode.
For games i can understand the issue but Nintendo already started doing pre-loading for some games. If they made it the standard you can have it do that while at work or something. For post-launch purchases buying in the morning instead of after work would work better but that's just a little getting used to.
@Nego But why would Nintendo ever shut down that store? If you download something chances are you bought it a few seconds ago so Nintendo would profit as both data transfers and hosting a web store becomes much cheaper (for new websites this is balanced out by more need for ads but that's not nessecary here). There will be redownloads sure but i just don't see the store closing down. Even if it happens i just don't see Nintendo fighting homebrew for a console they no longer support. Dosen't make much sense at that point. Also Nintendo is way nicer about homebrew than the competition (both ms and sony have bricked consoles that used homebrew, nintendo dosen't do that) so calling them very protective is probably overdoing it.
I still don't understand the relation between customers rights with digital games (what this conversation started with) and game updates that are shared between physical and digital copies. I see that it's annoying but i don't see why it's a bigger problem for a digital only machine. Also as you pointed out Nintendo is trying to solve this with stand-by mode.
For games i can understand the issue but Nintendo already started doing pre-loading for some games. If they made it the standard you can have it do that while at work or something. For post-launch purchases buying in the morning instead of after work would work better but that's just a little getting used to.
Maybe, due to the concerns of this being a download-only console, it may be a cheaper wii u that doesn't have a cd/dvd reader, like what the wii got, that didn't have any internet connectivity.
@Moon It's less than 50% now, and dropping every year.
I agree with everyone's ideas. It's seems as if all of these components are for a new gamepad. I believe we'll get a game console just like WiiU but still have an optical drive deck as now but with a much upgraded gamepad. Which makes me believe we will take the gamepad anywhere such as 3DS.
I want the option of disc based games because I collect them and it looks cool on my shelves - Sony tried a digital only version of the PSP called the PSP go. I don't think it sold very well.
@aaronsullivan #76 Some good points, as usual except for the "if they weren't trying so hard to be a tablet at the time" comment, because that is incorrect. It has been explained several times by various people at Nintendo such as Mr. Iwata and Mr. Miyamoto that both the concept and the initial working prototypes of the GamePad were made LONG before an iPad (or any tablet for that matter) was ever even a thing. It is simply an evolution of the DS technology, hence also the similar type of touch screen.
And they also haven't changed anything afterwards to try and make it look more like a tablet. The only thing Mr. Iwata has ever said is that he thought that many people would very easily understand how to use the GamePad because of so many people now owning tablets.
@SahashraLA Good and elaborate comment, you know your stuff. Except for the "Discs are needlessly expensive and fuel isn't getting cheaper. Nor is the oil required to produce these discs." part, since nearly all plastics/synthetic materials are made from oil, so both discs and cartridges are comparable in the production process as far as those ingredients are concerned, except for the fact that cartridges, depending on their size, can contain considerably more plastic than discs. So the cost story is subject to several factors.
@crimsontadpoles thanks for that level-headed comment, it is always good to get info from someone who actually knows what they're talking about.
@ikki5 Couple of good comments. Some people clearly have no idea whatsoever about how fast or capable SD cards have become.
@russellohh How is your Wii U 3TB? Certainly not out of the box and there isn't ANY console that has a higher default capacity than 500GB. External HD's don't count, so if a new Nintendo console arrives 4 years later and it contains a 1TB hard drive, then that is actually a HUGE improvement over the Wii U's 320GB.
@Squid_Gangster If the NX would be just as powerful as the Xbox One, that wouldn't be an issue at all, so you're sorely mistaken. It is very well documented that both Sony and Microsoft want to keep their current consoles around for at least 8 years, possibly even longer. (Microsoft has even spoken of 10 years)
So, if the NX comes out in the first quarter of 2016, then it can still exist side by side with the other two for well over 4 years, which would give it the same lifespan as the Wii U, and obviously they could still support it after their next console comes out, extending the life of the NX for another 1 or 2 years.
And it being just as powerful as the Xbox One puts it in a perfect position to also receive third party support again, so it really isn't as bleak as you seem to think it is, and we should also be taking into account if there is even going to be a next generation of consoles, because both Microsoft and Sony might very possibly not even make another dedicated console, as opposed to Nintendo, since they would have to literally transform as a company since designing and manufacturing consoles makes up more than 50% of their core business.
The other two companies could easily survive without: Microsoft has Windows and Sony has its movie department, both of which generates billions of dollars for both the companies.
wait....
WHERE IS THE NFC READER
@TheRealThanos just a point of clarification: the Xbox One now has a 1TB model SKU, I'm sure Sony will follow suit with the PS4 but as of now they haven't announced anything.
@russellohh Of course you got that by buying either the 8GB or 32GB model and a 3TB external hard drive. I'm talking about memory space with the console itself, not the console in addition to extra purchases.
The competitors both have 1TB as the maximum space you can have without buying anything extra, compare that to 32GB for Wii U and the Wii U's memory capabilities sound pathetic as a result.
@Mr_Zurkon Well, that may be the case and in fact I already knew that, but that still doesn't change the original point I made. I stated that "there isn't ANY console that has a higher default capacity than 500GB", and that statement will remain true forever, since the 1TB you are talking about is a newer model available since June, so it's not the default model in this generation.
And even so, if the new default capacity for consoles will be 1TB, it is still a VERY long way from a Wii U with a 3TB drive...
@TheRealThanos Except both PS4 and XB1 support hard drives even larger than 3TB.
@Grumblevolcano I was about to agree with your comment #196, when I read the next one. I honestly don't see your point. And either way it still doesn't change anything I said. They can support higher capacity drives, but they aren't the default model, which was really all I said.
That and the fact that there are no 3TB Wii U's, to which you agreed.
@TheRealThanos I think I misunderstood where you were going with your last sentence because my comment was aimed at if you count 3TB drive for Wii U which is only possible via external hard drive then you should also consider the external drive support for the other 2 consoles.
@Grumblevolcano PS4 doesn't support external HDD's, only Wii U and XB1 do.
@Grumblevolcano Ah, okay. No offense taken, though. I think that if you re-read the part of comment #193 that I directed at russellohh and comment #197, you'll actually see why I was about to agree with your comment #196...
I'd be cool with forgoing optical disc drive if there's a big enough hard drive, and the prices would be lower than retail. But I do like having physical games that are not dependent on an online infrastructure or subscription, so I hope that there's a high capacity physical media that is something like a cartridge, but that would need to be efficient and cheap enough to produce so that it wouldn't add too much cost and hassle to third parties.
@russellohh yeah, a 64 GB SD card costs about 8 bucks to produce, but the price of a disc of similar storage size is much cheaper so physical 'carts' like that would push the extra price to the consumer. That is why N64 games retailed for more than a PlayStation disk in the 90's.
@Grumblevolcano I ended up with a 8 gb Wii U I bought at launch. It didn't take long to fill up that meager amount of space with virtual console games alone. Storage space isn't much better on ps4&xb1. With increased file sizes and mandatory game install's 500 gb goes fast. I recently purchased a 2tb external hd for my xb1 and I'm sure I'll fill that up as well.
I hope this means it is a hybrid. If this is a console (PLEASE NO!) It really will show Nintendo is literally stuck in the 90's.
I honestly think it's a patent for a dev kit. The server likely holds the development builds the companies make to test with. No optical disc slot for a dev kit doesn't mean the finished consumer-level product will lack one. Also, the memory card, as said in the patent, only has an OS kernel and GUI program. No game stuff. This is not something that would be part of a consumer-level product.
Scratch that about no connection to the Internet, as the patent does state the communication unit can connect to it, via Description [0022]
"Hmmm....the Wii U didn't take off......I have it! How about a console with a screen on the controller & no disc drive?" "Can it play Mario?" "Yes." "You're a genius!"
I remember when Nintendo were a force to be reckoned with....
If Nintendo could work it out to be like better online distributors like Steam or sow thing then I could see it working. Ever since the Wii I've seen a lot of value in digital downloads. Sure seeing stacks of games in a room still gives me a warm feeling but the ease of digital only is enticing. Maybe have an optional disc reader that can be installed and just allow people to order the discs online made to order. Don't have to deal with retail middle men and old-school collectors will truly have more coveted games.
if it's all digital, than i will be perfectly fine with it as long as two things happen.
1. we have an actual terrabyte hard drive as opposed to the wii u's 64 gigabyte internal hard-drive. if we can't load dics, we need to be able to own more than 8 games on one console.
2. they add an xbox/steam esque achievement system. remember how they had miiverse achievements designed for tropical freeze? they should bring that back. perhaps each achievement could be a miiverse stamp? and perhaps there could be special miiverse stamps for specific achivement score milestones? i'm not sure about the rest of you but i legitimately cried for a while. when i found out the wii u did not have an achievement system...
It's bye bye Nintendo if they go digital-only Microsoft have already proved millions are not ready for a digital only future, otherwise Microsoft would of have not pulled a 180 & the XboxOne would be disc-less as we speak.
I hate to be the bearer of bad news but I've read through this entire patent and I don't think it's for anything other than possibly a Wii U "mini". Nothing in it details anything that isn't, or at least couldn't be, part of the current Wii U system, except the mention of the potential removal of the disc drive, which would allow for the smaller form factor at a cheaper cost. All the "digital", varying "speed", and whatever other stuff, is really just the same stuff that is on the current Wii U right now, which is in relation to how you get stuff like VC/eShop games, and how the machine processes things like running games from the external memory (be it and SD card or external HDD) or for multi-tasking in the OS (running a game and the Internet at the same time for example), and that kind of stuff.
If anyone else wants to read through the entire patent line by line, and really pay attention to what the text is saying, including what each of the "claim" numbers and "description" points is referencing in relation to the rest of the text and the other "claim" numbers and "description" points, then I think they'll probably come to the same conclusion.
Now, it could be for the NX, but if it is, then the NX is basically just the Wii U without a disc drive and basically nothing else new at all—from what I've read.
I think this patent is really just describing a Wii U mini (much like there was a cheaper, smaller, and more gimped Wii mini)—although, I can't really work out exactly why they'd need to patent that (unless the previous Wii U related patents aren't valid for a discless system, and Nintendo's just covering the bases).
The fact it shows a memory card leads me to believe it won't be digital only. The memory card appears to have some sort of installation data that contains two programs. One is stored on the HD, the other is stored in memory. Sounds like some sort of handshake verification process is used to ensure that you have the card inserted maybe? It wouldn't surprise me if we see a form factor similar to 3DS or Vita games for this system. I'm all for using a non-optical physical media. Flash memory is quicker and harder to physically damage. Things have come a long way since the old cartridge days. Optical media is struggling to keep up now.
@bngrybt "The card slot 19 of the game apparatus 1 may receive or discharge the memory card 7 such as an SD memory card." - http://appft.uspto.gov/netacgi/nph-Parser?Sect1=PTO2&Sect2=HITOFF&p=1&u=%2Fnetahtml%2FPTO%2Fsearch-bool.html&r=1&f=G&l=50&co1=AND&d=PG01&s1=20150231511&OS=20150231511&RS=20150231511
Which, by the way, is the ONLY mention of an memory card slot in the entire patent, outside of the image, which is just for reference.
It's just an SD card slot, which takes SD cards, that act like SD cards do, and that are processed by the console as SD cards are processed. In other words, exactly the same as the SD card slot on Wii U.
See my post above for further explanation of the point I'm making here...
@Fath I've read the patent too and came to the same conclusion : IMO this is describing a digital only Wii U (cf [0020] part of the patent).
I'm telling ya'll, I read that article about the meaning behind using the NX codename for certain products, as it is actually officially used in some industry (but I can't find the article again, so I unfortunately can't show you exactly what it said), and the use of NX is telling us that this isn't going to be something as obvious as we all think it is—at least not based on that article I read. It's going to be something different, unusual, and that hasn't been properly proven in the industry yet (that's actually kind of risky). Or that's what this article was saying NX is basically an indicator of when used as a codename for such a project.
I just hope to God that it doesn't mean Nintendo is making some strange abomination of a device/service, which basically forgoes anything it's done in the past that made its previous consoles great.
I mean what's the point of creating and/or standardising things like d-pads, cross-buttons, shoulder buttons, analogue sticks, rumble, motion control, 4-player local multi-player, Virtual Console, duel screens, touchscreen controllers, etc.—if it just ignores a whole bunch of that stuff with its next console, especially the new things it's introduced in only the last couple of generations, which have introduced people to whole new ways of playing games and interacting with their consoles?
How about this. For NX users without sufficient internet access; The NX controller is or contains a storage unit. Nintendo retailers will be supplied with equipment for wireless transfer of nintendo software. You buy either a download code, an amiibo or whatever, which will let you download the game to your controller or storage device while you hang out or shop at the store. Heck, the download might even start with a minigame you can play to pass the time while the rest of the download goes. And with Nintendos recent venture into the mobile market you can also do this with your smartphone. Go home and connect to your NX and transfer the game.
Meanwhile the rest of us do what we already do. Download most of our games.
Surely the patents for NX would have been submitted several months ago , if we are to believe the internet reports that informed us Nintendo showed NX to Square etc at E3 ? I agree with @Fath and @manu0. I'm thinking it's a Wii U revision , with Nintendo lodging these patents to cover their backs regarding the changes. The Wii U Mini could be a good idea , like the 3DS XL. The components should be cheaper now , so more profit on the hardware. Have we , as I have thought before , been playing a soft marketed prototype for the past few years ? This Xmas will give us proof of whether Nintendo are interested in improving the Wii U's lot. The games are there now , they just need to let the wider world know it exists.
Even if it is digital only, all the NX needs to be popular upon launch is a new Super Smash Bros and Mario Kart.
@Lastar Do you think that Nintendo is going to keep their eShop line-up the same for decades? I don't personally expect to see the Wii Shopping Channel still functional ten years from now, and even that is most likely way too long a time for it. Once they are done with the console (and Wii U), I doubt they'll keep the service up and running. Keeping up games on the server that are being bought seldom is most likely not ideal from Nintendo's POV in the long run so I wouldn't be surprised should they choose to take down older games in favour of newer games if they are going to keep the eShop up for the next couple of console generations, should there be more than one for Nintendo anyway.
At that point the older games become abandonware but emulating them on a PC will be annoying due to Nintendo's chosen path with controllers. Obviously someone's going to make a plugin for them and a way for them to work but ultimately it's going to be a pain for those who want to use them but just can't make them work (I still haven't been able to get my Wii U Pro Controller work on my PC after many attempts).
Obviously there's no relation with consumer's rights and game downloads apart from the fact that a company can some day deny the consumer from accessing the digital product they sold them. When I complained about downloading software I treated it as a separate issue but I guess I was not clear enough about that.
No built in optical is fine, as long as there is extra usb 3.0 ports. Nintendo selling an add on usb 3.0 optical drive that could play gamecube to WiiU discs would be fantastic. They could sell it at $150 and people would pay.
I think Nintendo have got it wrong here. Their focus on serving cheese butties without HP sauce is laughable. Also, the donkey rides are too expensive and when was the last time you heard someone asking for a laser guided proctological exam? I thought not.
There better be a lot of hard drive space on the next console. The Wii U is a joke for storage and Nintendo makes people pay for ample storage. That's a bad business practice when considering they are trying to push digital downloads and the e-shop. The next console better be like 500 GB or more to warrant being disc free!
@TheRealThanos
Regarding the GamePad as tablet. First of all, I wasn't trying to imply anything about who came up with the idea first or even when it originated. (Though tablet computers had been out for a decade at least.) The timing is such that Nintendo had plenty of time to look at the success of the iPad and assess the situation. Like just about everyone else it wasn't apparent how ridiculously successful the new tablet form-factor would be, though. So it's not surprising or particularly poor planning, but they did make it as tablet-like as they could. It wasn't too late to make it a more comfortable controller to hold and worry less about setting it flat and other ergonomic considerations. There was a revision to the GamePad hardware between announcement and launch that did a little bit, but it wasn't much.
Just saying that having a screen on a controller doesn't make it like a tablet, it's other things they did.
Sooo. with a big grain of salt. The new Nintendo system uses an SD cards instead of discs....Hey isn't there already a SD card Nintendo system and don't phones use it too... what a coincidence. A system that has one input that accepts ds, 3ds, Nintendo mobile and 'NEW NX' games on card makes a lot of sense. Allowing people to take their games from big to small screen and back again.
@Nego They wouldn't have to sell that many copies of their games to keep up with the brandwith costs. Some of the sites that illegally upload the games thrive on advertisements. Nintendo would have to sell like 1 eshop game to keep the store up for more than 100 retail game redownloads assuming that uploading won't get cheaper (but it will). Furthermore if they link it all to the same nintendo eshop it would make even more sense to keep that up. And like i said nintendo wouldn't fight homebrew on a machine you can no longer buy things on so worst case it's just going to mean some downtime for redownloads.
The NX will be 100% digital. Nintendo and DeNA will provide free wireless service and cloud-based storage.
@SahashraLA Seriously? Nintendo aiming for top of the range tech is completely out of the question. They cut every corner going to save a few pennies.
I doubt the NX will be as powerful as the X1 let alone PS4.
I can see the NX featuring a quad core mobile processor, 3GB DDR3 RAM with a budget GPU backup by an 80GB HDD.
As for online and digital Nintendo will never match Microsoft or Sony. Nintendo are just about managing to handle 12 players online per match with basic interaction. Doubt their infrastructure will ever be capable of handling that pipedream.
@aaronsullivan The problem with the Gamepad is the Wii U OS and execution. It is a mess. Gamepad is brilliant, but Nintendo are wasting 1GB OF RAM on bloatware. If Nintendo dumped the stupid 3D backgrounds and designed a slick, modern interface offering strong multitasking it would be perfect.
Sounds like a combined home console/handheld docking station.
@TheRealThanos
1: every 3rd party Dev says that the next PlayStation and Xbox needs to come out 2019 for the latest. 3rd party makes or brakes a system.
2: Microsoft may have said the Xbox one will be supported for 10 years, but it obviously will be replaced before.
3: playstation is making Sony the most money. Its here to stay
4: if the nx comes out 2016/2017, the next PlayStation and Xbox is gonna comethe year after that. Look back as far as 6th gen. Whenever a console comes out, the competitors have their system out a year later to male sure they don't lose out on customers.
@liveswired the NX is (most likely) a 9th gen system. It has to be more powerful than the ps4. I know its coming out early, but why would Nintendo make a system that underpowered?
@scottp999 USB 3.1 is becoming a thing
@MyBodyIsReggie they ate carts in the diagram, for both the portable and the handheld. This could be part of the hybrid concept. The cartridge can go into both the handheld and the console, but the game will obviously have a lower performance on the handheld.
@Bass_X0 there is a cartridge placement in the diagram. That could be their new format for the console, which would help with the whole hybrid thing.
@Fatdeath LOL, that would be stupid. Go to a store and pick up a game, play on your phone while you wait. LOL
@Squid_Gangster
How is THAT the stupid part? You are aware that Nintendo are about to release mobilegames, right? I have bigger doubts about the rest og my concept tbh
Someone already said it but this just looks like a Wii U mini or generic (apart from the display on the controller) console patent. I hope they stick with the display in the controller but make it smaller and make the console capable of supporting 4 at once.
The way I see it is the external memory will be some kind of card similar to the DS/3DS card... the NX "home" console will take this card also but be mainly focused on downloading for games. The card will basically be used for slow/limited download regions and for the "handheld" version of the NX. If Nintendo implements pre-release downloads that will go some way to mitigating slow downloads also.
@TheRealThanos I meant external. a 64GB flash and a 3TB external drive. I bought my Wii U for $200 and the drives for about $65 all together, at launch.
@Grumblevolcano Ehhh, i paid $265 for the wii u plus external, and i never unplug the external. Paying $500 for an Xbone, then $20 for every DLC, $50 for online play....ehhhh. I loved my original Xbox, 360 and PS3, but it looks like WiiU/PC for me from now on
@AshFoxX I'm not sure how much it would really pass on these days. Steel Diver constantly retails for $5, and plenty of DSlite and even 3DS games are under $10. It shouldn't be that hard to make an SD card that has a single game on it, cheaply.
By the way: Do you guys know what it means when all the games are digital only? Maximum profit for Nintendo! No more looking for the cheapest shop. No more finding a cheap second-hand copy. If Nintendo asks 50 Dollar/Euro for a game, it will stay at that price forever. Unless there is a discount, wich doesn't happen very often on first-party titles. In other words: Much more expensive times for us all!!
@Henmii Agreed.
Eliminating manufacturing and shipping cost's would save Nintendo money. The other side of the coin is that many would would be left unemployed as a result.
Digital only has quite a few setbacks.
Would y'all stop saying this is download only - the patent mentions internal memory slots - physical games could come on SD cards, or cheaper still, those mass produced 3DS cards nintendo makes
Fast loading, quiet, huge storage. Win.
@russellohh I understood that, but because of the compact way you wrote it, it seemed as if you said you had a 3TB HD inside your Wii U, which is obviously what sparked all the reactions that you got concerning that...
@aaronsullivan "First of all, I wasn't trying to imply anything about who came up with the idea first or even when it originated." My apologies if my comment came across as such, that certainly wasn't my intention, but generally speaking I'm so sick an tired of all the mindless drones calling the GamePad a "tablet controller" or any other variation of that obvious misnomer, since to any one even remotely familiar with Nintendo's way of designing it is very well known that they always incorporate some part of their previous devices into their new ones, and in this case it was the DS technology, among others things.
Besides that, I hope you'll agree that Nintendo is definitely not known for copying others' ideas, and the way they work is also never to look at other companies to see what works or not. All this is how them "making the GamePad more tablet-like" comes across to me, so you'll have to excuse me if I understood that incorrectly.
I don't know if you've ever read the two Iwata Asks episodes that relate to the GamePad, but here they are:
http://iwataasks.nintendo.com/interviews/#/wiiu/gamepad/0/0
http://iwataasks.nintendo.com/interviews/#/wiiu/nintendo-land/0/0
Nowhere in these documents are there any references to tablets or similar tech, and although most companies always hold back some info, this kind of low interest information is not part of those kinds of restrictions, so I trust that Iwata told all he could and it explains everything that is necessary to be able to assess what's what.
Ergonomics are more or less a given when making something that you need to hold in your hands for prolonged periods of time, and that too is totally disconnected to tablets; they have no ergonomics to speak of, other than being as small and flat as possible, while still retaining a decent screen size.
Well, quite a bit of text again, but hopefully it makes my point a bit clearer.
@Squid_Gangster First off: third parties are important, but neither Microsoft or Sony are theirs to command as they see fit. Obviously they'll listen and will incorporate some stuff to cater to the developers, but in the end it is Microsoft and Sony that decide what kind of console they make. It takes years to design a concept and develop that into a working prototype, and third parties definitely aren't leading in that process.
As for Microsoft supporting the Xbox for 10 years or not; either way my point stands and that is that Nintendo could still make the NX have a regular life cycle and move onto the next console at approximately the same time as the other two, and that was also the only point I was trying to make with that.
And I'm sorry, but if you think that Sony is making the most money out of the Playstation branch, then you have absolutely no idea what you're talking about. Obviously the PS4 is doing them a world of good right now, but things certainly weren't as sunny before that. And as far as what I said about that in my previous comment is concerned: I meant the bigger picture, not just the snapshot of their current financial situation.
By the way: turns out that concerning that, my own info was also slightly dated: even though the movie industry is still making them tons of money (and overall still more than the Playstation branch) it is actually the life insurance branch that makes them the most money:
http://zpply.com/sony-makes-money-selling-life-insurance/
and they even make quite a bit of money because of their components being used in iPhones:
http://fortune.com/2015/04/29/sony-iphone/
All in all, if the PS4 wouldn't have been as successful as it is now, then there would be no more Playstation, since in general, it is definitely not the department that makes them the most money, so they could survive without it. They have also repeatedly hinted at some sort of streaming/digital only solution for their next generation, so it is very uncertain if there is even going to be a next true Playstation console, and the same goes for the Xbox. So many media have written articles on that, so you will have no trouble whatsoever finding some conclusive info on that.
And I don't know what you've based your 4th point on, because financially and commercially, that would make no sense whatsoever. Both Sony and Microsoft aren't going to bring out new consoles in 2018, it's not just a simple case of looking at what they did with previous generations. It just doesn't work that way.
They have to take into account several factors and I'll bet that both of them won't be all too worried that Nintendo is going to trump them in the power department, unless the unique idea that Nintendo is continually hinting at is indeed so original that the competition has no other choice but to respond by coming out with new hardware themselves, but the investments done in the Xbox One and PS4 are way bigger than any previous consoles, so they will definitely want to keep them around for as long as possible, and just two or three more years definitely isn't anywhere NEAR that ballpark.
@TheRealThanos That's just silly.
@russellohh Not to be an @ss, but how so? You said: "My WiiU is 3TB." while as we all know, Wii U's with that capacity don't exist. Of course it is an obvious conclusion that you forgot to mention that it was because of an external hard drive, or you assumed that we would understand anyway. Well, apparently I wasn't the only one that wasn't too sharp that day, since you got more than one comment about it.
And then you follow it up with "If a system released 4 years later has a SMALLER harddrive, i'll be shocked." which is also slightly strange, since there is no console that has a standard internal hard drive bigger than 500 GB or 1TB, so you saying you'll be shocked if a console comes out with a hard drive smaller than 3TB is a bit weird, since even 2TB would mean it is the biggest hard drive in any console EVER. Up til now, that is.
@TheRealThanos since the 3DS and Wii U both require a new SD card or external to be even remotely usable, i consider the external drive to simply be a part of the system, just like a controller or stylus. Both my 3DS and Wii U's built in/out-of-the-box memory were 100% filled on day one. I prefer Nintendo's approach, honestly: PSVita memory cards are $70 for a little 32GB- Nintendo using a standardized, third party flash SD system cost me $12 for 32GB. Likewise, an iPod or iPhone with the 16GB might cost 250- the 32GB version, identical in any other way, costs $350. Doubling 16 to 32GB of flash costs a grand total of $8 in parts. MY Xbox 360 was the same way- before they accepted third-party harddrives, it cost $90 to add a 20GB harddrive to the system, even though third-party, similar items cost $20. For $40 on black friday, i was able to put several TB onto my wii u, without any hacks, mods, etc. When i wanted to move the wii u to a friends house and didnt want the dangly cords of the external, i shoved a $11 slimline thumb drive into the butt of the wii u (its about half the size of a kidney bean, and 32GB!) . I should have been more clear, but to me, the wii u NEEDS an external memory, so i just consider them one of the same
@russellohh Oh, I agree with most of that AND I get were you're coming from, it's just that I hope that you do us the same favor in return. We can't just go around and make up standard components just because we THINK they should be incorporated by default.
And the fact that we have now already spent quite a few comments on that should be somewhat of a giveaway that what is obvious or only natural for one person, isn't necessarily so for the other.
And then there is having to interpret other people's text without the benefit of hearing the words being spoken or being able to read a face to get the true intent of the comment right straight away. Another one of these slightly less great things of online forums...
But either way, we're actually pretty much on the same page, except for the slight misunderstanding that sparked this whole discussion. In the end, no harm done, I guess...
I feel like it's already been said, but what if it's just a VC only system, supporting downloads of Wii U and 3DS games along with all the other VC library of both? Sorta like the Playstation TV
Show Comments
Leave A Comment
Hold on there, you need to login to post a comment...