
It seems that today is a day of potential E3 leaks, and this one will likely divide Nintendo gamers. We're aware that some of the Nintendo Life community enjoyed Wii Music, so this writer will restrict expressing his feelings of trepidation and fear at this possible reveal — the lead image says it all.
When motion control was dominating the world Wii Music attempted to incorporate a fun, musical learning experience into the system using its controllers and accessories. If a freshly discovered patent is anything to go by, Nintendo may be working on a follow-up project — filed in late April but made available to the public today, it shows the GamePad being utilised for a musical game with an uncanny resemblance to the Wii title.
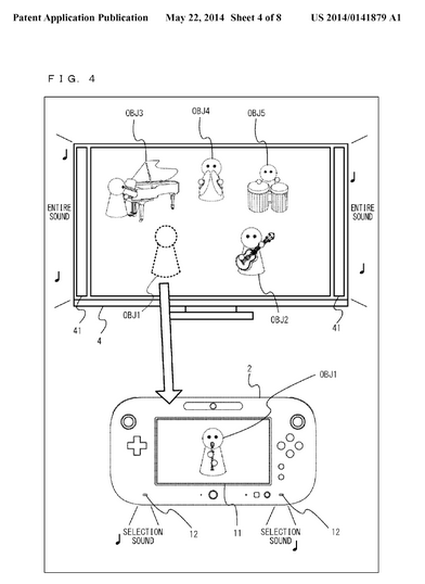
The inventors are named as Takehiko Hosokawa (Rhthm Heaven Fever and others) and Goro Abe (most recently Game & Wario) — the patent primarily revolves around software to capture data for multiple sounds, incorporating interactions with the GamePad.
[0003] Conventionally, there is a game apparatus that outputs the sound of performing one composition as an ensemble using a plurality of instruments. In the game apparatus, a user selects a part to be assigned to the user themselves. When the selection of the assigned part is completed, the ensemble is started. Then, the user can participate in the ensemble by performing an input operation based on the assigned part.
[0004] The game apparatus, however, can merely provide the audio output of the composition performed as an ensemble from, for example, a pair of loudspeakers provided in a monitor. Thus, even a composition performed as an ensemble may lack variety, as compared to other types of sound outputs.
[0005] Therefore, it is an object of an exemplary embodiment to provide a storage medium having stored therein an information processing program capable of a wide variety of sound outputs, and an information processing apparatus, an information processing system, and an information processing method that are capable of a wide variety of sound outputs.
Though the images below focus on the GamePad, various charts showing the processes of the software refer to multiple instruments and input devices — controllers, in other words. The idea seems to be playing in a band much like Wii Music, but with the GamePad featured in its own way.
There are some key points to make. A patent arriving this late before E3 can either mean it's in preparation for the event, is too early in development to be shown, or it could be a patent like many others that'll never see the light of day. While it undoubtedly looks like Wii Music, meanwhile, the named Nintendo staff are particularly experienced in the WarioWare series, and this may be just a part of a different project.
We may see more soon enough. In the meantime check out some diagrams below and let us know what you think.



[source neogaf.com, via appft.uspto.gov]

Comments 83
Nintendo pls!
Looks like the Wii has done brand damage after all with all these glorious shovelwares dominating the release schedule!
Interesting I liked Wii music.
No... please NOOOOOOOOO!!!!! I don't mind them making this, it's just I can imagine the whole Digital Even being Iwata on drums...
As long if they don't do THIS again.. [youtube:h-RtAd4WxfA] then I dont mind a sequel.
lol, I totally see some non-wearable tech there.
And is "an object of an exemplary embodiment" sort of like QOL?
How successful was Wii Music? I thought it was a big flop? With that assumption in mind, why is Nintendo going in this direction again? Seems like a wasted allocation of their time.
But, it could be good, I guess. I'm not holding my breath, though.
Is there a correct response to this?...
I'm not really interested in these types of games but I guess its cool for those that are.
@Spartacus3765
Huh? Wii Music was a VERY successful game.
I didn't think Wii Music was a bad game, but it didn't hold my attention for long, and overpriced for the content it provided. If they do a Wii U version I hope it's a eStore exclusive.
Not impressed, just leave Wii music in the past I hated every minute of it.
Wii U is saved!
@TruenoGT The Rhythm Heaven people are usually a little crazier than this. I'd love for them to make a Wii U game though, Rhythm Heaven is my jam.
@Farmboy74 Same.
@MAN1AC I'm guessing the only reason it was as successful as it was is because it came with an extra Wii Remote, heck that was the only reason my parents bought it for me back in the day.
If this gets revealed at E3, not even Zelda can save them
@Nik-Davies Heh, really? @DestinyMan ("And there's a lot of potential still in Wii Music, I think. Because we're going to change it up, a new interface is coming, and all of that."
He even floated the idea of Mario showing up in the game, though he wouldn't bank on it.) This sound pretty interesting indeed. Even Wii Music isn't my thing (or at least played it yet), I have to a least see this.
It sold like 3 million copies I think, so it makes sense. Hopefully they won't focus on it. I still don't think it's coming though. I think they actually used this idea already in Game & Wario or so I hear.
I think I might try to make a piano app for the gamepad.
@MAN1AC
Ok, so I guess what I'm remembering is that it was just more catering to the casual market or something along with getting moderate review ratings. Rock Band was the only music game that drove my interest of that genre in that era.
I dunno, I'm noticing that Nintendo seems to be spreading themselves too thin in these last few years - not giving focus to games where there's the higher demands/interests. I understand the need to evolve and adjust to what the market reacts to in terms of console/software sales, along with staying unpredictable, but my goodness. They seem to be moving more towards being gimmicky than innovative lately. And I'm not talking about the Gamepad in any regard - I think that thing is awesome. But the NFC/toys thing, the vitality sensor, and whatever the heck this is -I'm not sure these will hold my interest, or others IMO. It's like they keep tossing up peripheral ideas, and seeing if they stick, instead of working on the killer software to, oh I don't know, utilize the dying Wii U and it's Gamepad?
Can it be? The triumphant return of Ravi Drum? The unveiling of "Ravi Drum Presents: Rhythm Ravi: Ravi Drums Wii Music ii(2)" for Wii U? I hope so!
I'm sad that some people are saying they like this game... >_<
I said this jokingly last week thinking they wouldn't be this ridiculous. I was wrong. Please understand.
@Captain_Toad Why not? That would enhance the presentation.
@Captain_Toad @DestinyMan
Yep. But seriously, I couldn't STAND the game. I couldn't STAND the presentation. No how matter how good the Zelda announcement would be there would always be that Wii Music U in my head. Unless they manage to pull it out of the bag and make it good, but I'm not getting my hopes up for that.
I'm not going to let this get me down now though, I'm still hyped for E3
Good god if it's anything like the original Wii Music reveal.


The rumors have said that a casual game is coming this holiday season, here it is.
heLP
Yup; looks like Wii U Music to me.
If it happens, here's hoping it's less of a pointless waggle-fest and actually has a bit more of a "game" feel to it; where you actually feel like there's some kind of skill or challenge involved that actually makes what you are doing feel more worthwhile, rewarding and ultimately just more FUN.
I think Nintendo will at some point realise that the casual ship has sailed well away from home consoles. I hope this isn't real.
I simply LOVED wii music! But lack of any great tunes(twinkle twinkle little star,really?) and midi sounds rather than real sounds stopped it from being a masterpeice. If this truly is Wii U Music,and it can have better sound,tunes and maybe even dlc instruments and tunes I for one would be very very happy
I believe you meant "demonstration."
Whatevs, casual gamers need things to play too. If they expand the music capabilities, put in nothing but high quality sound, and add in the ability to post your edited songs on Miiverse....well that would be pretty cool honestly, no matter who made an ass of themselves in some E3 presentation years ago.
@ponyfansunited Thank you for this video! Was very nostalgic. I loved wii music!
@BertoFlyingFox
Yeah I think this a good thing - the Wii U needs more casual games and I think it's a good use of the gamepad - if marketed right it could have some of that original 'Wii factor' in that it looks fun to play when you watch others.
Throw in Miiverse sharing and DLC and you have a great title with lots of potential!
I didn't know so many NLifers hated Wii Music. I for one enjoyed every minute of it and will gladly pick up a sequel if this does turn out to be just that.
Eh, not the most exciting news but I'd still buy it and give 'er a whirl. I used to LOVE the Music Generator on PS2. Made beats all day every day for YEARS lol... Granted, I recorded my own music back then but still- it WAS fun.
Probably not for me.
@64supermario That avatar, DAMN THOSE METEORS!!!! I couldnt beat that guy on Advance Wars, Why is there not a new one on the Wii U? VC release of a GBA game doesn't count.
So that is the Miyamoto game, oh dear!
As for people's e3 expectations: Lowered expectations (you know, from that American series)!!
And this is why being a Nintendo fan is suffering.
"New Nintendo IP patent!"
"New Miyamoto IP"
"New [INSERT DREAM NINTENDO GAME HERE] to be revealed at E3!"
NOPE! Wii Music...2!
Since everyone loved Wii Music, r-right?
Please don't reveal it at E3!
@Technosphile please undastand.
ummm...
Wii Music was garbage. It wasn't even a game. The Wii fad is over Nintendo, get that through your thick Beatles haircut having heads already!! Its like the entire Nintendo staff have dementia lately. We dont want this crap!
@ponyfansunited your avatar though i know its fluttershy but her expression makes me wonder what kind of art its from.
@Jazzer94 No not Nintendo E3 2008!!!! My lowest point ever as a Nintendo fan, oh the horrible horrible memories
this instead of metroid or star fox?
Wii Music was genius but executed poorly.
IF the instrument sampling was far better
IF there was far more variety in the content and some contemporary music
IF it had training that targeted you towards the best bits.
IF it had a look that was more stylish than Mii-bland
IF it had accuracy in smaller movements from Motion Plus
It could have been an awesome game/experience.
The core mechanics are an awesome idea. Aspects of the game were implemented very well. It was the deep Nintendo answer to what a music game could be that had the potential to be so much more satisfying than Guitar Hero and Rock Band. This allowed improvising and felt like making music rather than following music... when it worked. Unfortunately, it fell way short and released at a time core gamers were getting tired of casual games.
I hate to say it, but, once again, it's a bad time for it to release even if Nintendo pulled it off this time.
@ponyfansunited
Starting that video about 5:15 is a good way to show the improvisational fun in Wii Music though the presenter is a bit awkward overall.
EVERYBODY FREAK OUT!!!!!!!!!!!!!!!!
Seriously...the creation and existence of Wii music had roughly 0.00 impact on my life.
Why doesn't the INTERNET freak out about "Fighter Within" this way...seriously...have you seen that thing in action?
I thought the conductor mode was genius where you wave your wii remote like a baton. Wii Music wasn't a game for everyone's taste.
@Meaty-cheeky I share that pain bro. I almost gave up gaming entirely because that was such an awful conference. Fortunately, they haven't been that bad since. Now I have to go watch the conference on youtube and cry.
Actually I didn't really care for Wii Music but even I'm excited for a potential GamePad focused sequel. I feel Nintendo got the whole theme right when they did Rusty's (what I consider to be the Wii Music of baseball).
The GamePad could bring a host of new possibilities. Just as long as it's utilized at least a little better than in the last Just Dance game.
@Ichiban
Good you didn't jump to conclusions right? Nintendo patents rarely get used and typically by the time they are, we tend to forget about the patents in the first place.
I loved Wii Music. Bring it on.
@2Sang why would you torture yourself like that man???
Nintendo cant have an E3 worse than E3 2008 right!? right???
I thought the plastic instrument fad had passed.
@dumedum
I can confirm that, it is in one of those Chick-A-Win/Cluck-A-Pop microgames. The article clearly says that creators of the idea are responsible for the creation of Game & Wario.
Please, no more Wii Music.
Never played wii music but this looks like an astounding idea and can you imagine if they bundled in a second gamepad along with the game along with dlc music, uploading your playlist via bluetooth, miiverse, wii U chat, twitter, twitch, you name it. Possibilities are endless and you can tie this to your NFC nintendo brand figurine push. This shiit is going to print money if done correctly. This +mk8, x, bayonetta2, zelda U, smash bros U, hyrule warriors shld make for a interesting E3 along with the stuff we dont know. #jetlife #nintendolife
Just give us a rhythm game à la Parappa the Rapper with Nintendo characters involved in a crazy story while singing crazy songs and we'll be happy.
That could at least be a good use of the GamePad. If they go through with this the game better be good though. Never played Wii Music but i think it's safe to say not many see it as one of the best Wii games.
It's not like Iwata is putting a gun to our heads and demanding us to buy it... What usually happens is NL will give it a 9/10 which automatically forces all Nintendites to throw their cash at it
Think they should get rid of some of the people at NOA.They should get couple third party mature games on the Wii U (since they not doing anything of adultness,think that's all that's missing and racing,fighting games like that should fall in between this games like this should not be announced and be like a surprise instead of the games that require time to produce.seems like people working for Nintendo killing The U.and don't know what people want have games come out of every genre instead of just platformers
@ColdingLight Yeah. Yeah...
I'm probably one of the very few people that actually thought the concept of wii music was fantastic but it just had an awful selections of songs in a midi format.
Hopefully they will correct this for the sequal, and give users an option to compose and download peoples composisitions
I'm probably one of the very few people that actually thought the concept of wii music was fantastic but it just had an awful selections of songs in a midi format.
Hopefully they will correct this for the sequal, and give users an option to compose and download peoples composisitions
And our nightmares became true...
@Shy_Guy shy guy, uhm... i love you... i mean, i love your profile pic...
Wii Music was a brilliant, but flawed concept limited both by the non-motion plus technology being used and the Wii's limited online capabilities. Two things that would have made it more immediately appealing are a DLC facility to add to the song library (though the inclusion of "September" by Earth, Wind and Fire was genius and that has to be included in any sequel, please!) and more mini-games to get people to play around with it more who might have thought that's all Wii Music was going to be in the first place.
Myself and others in this forum collaborated on a few pieces despite the limitations put in the way and it was a lot of fun. My favourite part was just jamming in the free-form mode, but the collaboration of each person adding their bit to a piece was terrific and I always thought it was sad that you couldn't upload the resulting video to friends and family who might not have a Wii. I really don't care about online gaming, but being able to collaborate on tweaking musical pieces in Wii Music with others around the world would be awesome!
@Meaty-cheeky
Awesome .gif !!! xDDDDDDD
I liked Wii Music. I mean I didn't play it like crazy or anything but I never understood the hate it got. I guess if I had paid full price for it I would be pretty upset, but I paid $5 for it at Circuit City when it was closing. Then again I also paid $5 for Horton Hears a Who and I felt like that murdered my grandma so it can't just be the pricing.
Sequel for Wii Music has been my one of my fondest wishes since Wii U announcement.
The GamePad is made for writing music and sharing songs with friends would be eternal fun. The Wii U could also handle immensely more powerful synthesizer and effects, perhaps making the sound appealing enough even for those who couldn't give a chance for the idea of an interactive music game because of gamey sounds.
A midi keyboard controller with piano lessons and karaoke would make it a 10million hit.
Explains their decision to avoid too much stage presence this E3
Nintendo refusing to accept the casual market ship has sailed.
That said, it's only a patent. May not mean anything.
It should be super smash dance, a rhythm game for wii u.
Doesn't interest me but still great to have fun experiences on Wii U
While I don't have an immediate interest that still doesn't mean this is a bad thing. Casual gamers need something to play with too.
this is probably miyamotos new game. Wii Music Fit U in my pocket.
If you're interested in music and know what the software can do, Wii Music is NOT in fact a casual experience but a fairly in-depth song creator with a ridiculous amount of nuance and subtlety. The original was demonized by those who never played it or failed to understand what the point of the game was.
I really really hope a Wii U sequel/enhancement comes out. And it's times like these that I'm glad Nintendo is mostly focused on Japanese market and does not cater to Western fans.
For the love of god! NO....why Nintendo waste time with this rubbish and yet metroid and f-zero sit gathering dust!
Show Comments
Leave A Comment
Hold on there, you need to login to post a comment...