
There have been quite a number of patents from Nintendo in the past couple of years that have prompted conversations around the form of the company's 'next generation' hardware. Though attention often shifts to potential controllers and similar examples, one of the company's most intriguing patent applications seems to be a mere formality away from being confirmed.
The patent for a 'Supplemental Computing Device' has, after amendments as demanded by the patent office, been issued with a Notice of Allowance. This basically means that completion of some simple forms and the payment of a fee should see the patent pass, and therefore belong to Nintendo and its creator, Joe Bentdahl.
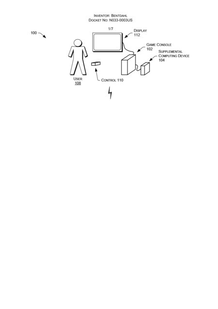
To summarise the core concept, it allows for an extra device to provide extra resources to a gaming system through two means - through on-board hardware and through utilising resources in the Cloud. In theory such devices could be made available to boost a system as it ages, for example, to give it extra power rather than replace a console outright.
Though the on-board processing power of such a device would naturally be a factor, the emphasis of Cloud computing is interesting, especially as it's an area that companies have sometimes struggled to implement effectively. The application proposes a process where your system could, in theory, use the Cloud resources of other users to help the device - and related console - perform better. On the flipside you can allow your connection to support others, and the application even highlighted what could be interpreted as My Nintendo rewards for allowing your Cloud resources to be used.
If it comes together it could be a significant idea, especially in this age of improved home broadband connections and the constant race to keep up with technology. The patent was originally submitted back in June 2014, too, so it's been a long time coming for Nintendo to secure it fully.
Whether this is part of the prospective NX is debatable, of course, but as a concept it could certainly be part of the future.
[source neogaf.com]





Comments 68
IT'S HAPPENING!!!!!!!!!!!!!!!!!!!!!!!!!!!!!!!!!!!!!!!!!!!!
What I honestly think this will be is a device with modular processing power, where the consumer can increase the power of the console by buying attachments (sort of like how you buy additional ram for the PC), in order to enhance the console. The new console, as well as other ones that could be synced or connected to it, would draw off this additional power.
Well, here we go again, in a couple of minutes some one will post a list of "NX's power specs" with this information, maybe a fuzzy picture, and the interwebs will be set ablaze again. Get your marshmallows ready.
Completely honest, I like this idea. Hopefully can be implemented in a good way to show Nintendo as strong as the competition still.
@Flauber I got them but I forgot the sticks to roast them. Do you have any spare?
Hmm..from the picture alone I am speculating the NX console to be half the size of a grown man and the controller to be a brick...
@Kogorn733 Um....its called the PC buddy.
I've been thinking about this sort of solution for a long time; it would make sense. Then again, this isn't too different from Nintendo 64 DD, and we all know how that worked out.
It's too late to be part of nx
@Flauber Stay Puft Marshmallow Man says, "My body is ready."
I had thought of a solution like this to help Nintendo bridge the hardware gap. Like a Nintendo 64 expansion pack. But of course I don't have any experience in this field - save for plugging the expansion pack in - so I didn't know how realizable it was.
@KoopaTheGamer Well, in all honesty, the 64DD was nothing more than a glorified floppy disk drive for additional data. DLC before there was even an official name for DLC, if you will. It hardly added any additional computational power to the N64. This is more like a stackable N64 expansion pak with its own power source.
Sounds like they described the SuperFX chip.
They sure are doing something, alright. A whole lot of... something.
@OneBagTravel Slap one together with an N64 expansion pak, a dedicated CPU and a power cord and you have your supplemental computation device...
@TheRealThanos Yeah, pretty much. In addition to disk drive, 64DD did have internet connectivity, real-time-clock and some sort of audio/font library.
It wasn't quite like this concept, but it was similar; it was an accessory that gave new features/storage/connectivity to a console. The interesting question is: would this sort of device be utilised these days?
Theory: NX will be the last official console Nintendo ever releases. Every generation from now on will just be a stronger supplemental device, making the console stronger. This makes upgrading to the new gen of Nintendo games much easier and cheaper for the consumer.
Supplemental device?
So Nintendo could make a cloud version of a Wii U 32X if they wanted?
Another day, another patent.
At this point it's just zzzzzzzzzzz
This is the kind of thing Microsoft has been talking about doing for the Xbone moving forward. And we're already seeing a form of this with the PSVR. While the PS4K will be able to run the PSVR without issue, everyone currently with the current version of the PS4 will need to use the included with the VR processing box for creating a separate image to display on TVs.
As such I kind of have to wonder if what Nintendo has patented here is even something they actually have patent dibbs on.
@KoopaTheGamer Yes it did, but the difference was that it didn't offer any computational power to the N64, just additional "stuff" which is why I wanted to emphasize that difference.
As for how it could be utilized: probably depends on what it looks like and how it is implemented. Remember: patent drawings are nothing like the real thing, provided they get produced in the first place.
I think some people are thinking that these are LEGO blocks and you just stack 'em up to get more power for your NX console.
For some gamers building a physical wall wouldn't even be that much of a difference from having a virtual one around them while they are gaming...
I'm down if it can connect to the Wii U and allows me to play NX games.
Sony confirmed the additional box that ships with the psvr is for sound, and is not additional cpu or gpu power
Move along, people. It's just another patent. Nothing to see here.
@Flauber And take a trip to your local salt lake.
This has to be part of the NX.
@nridgedrummer
Thus making the next gen consoles-er I mean "supplemental device" even more affordable then the competeters consoles. And because this is copyrighted by Nintendo, only they could use this exact thing!
I can't see this being used in the NX. If supplementary devices can improve the NX power, then it'll be a two-tiered console. Then there'll be some games that are exclusive to the NX + supplementary device, and it'll just be one confusing mess.
It sounds like a good idea, but how much would the console cost..?
I think this inventor didn't read his history books--particularly the chapter on Sega's 32X.
Nobody buys hardware add-ons, and not on a system that starts getting two or three years old. Heck, there were people who didn't buy a Wii U because they thought it was just an enhanced Wii.
@sandman89 The Nx could be 0.002% completed with all we officially know about it.
@nridgedrummer Are you kidding? Sony and Microsoft would do it cause they don't change anything but power but Nintendo changes everything.
This is an awful idea. I prefer console gaming because I know is a one time investment. If Nintendo do this,I'll have to go to Sony or Microsoft.
What bothers me is: why create the SCD and a new console at the same time? How does that make sense?
I feel this could actually be designed for the Wii U (the "console" in the patent just being the existing model) and give it a second chance. But that doesn't seem like a good idea to me, and it also feels unlikely they could pull off anything interesting with a console that wasn't designed in the first place to work with an SCD anyway.
I'm saying this because I don't see the point in having basically the console just cut in two halves. Two halves you will need anyway, apparently. The cloud-computing part makes sense, but the SCD doesn't. It is over-complicating something that has to be simple.
(or the so called SCD is a docking station for the next handheld to be played at home. I don't know, I should stop posting at 3 in the morning.)
In other words if you are a PS4 owner you might not need to upgrade to the PS4K console.. or maybe it wouldn't work.. I think it's too early to tell but not sure how much it can help because of how the architecture of cpu/gpu buses etc..
@WireWare I'll bring the graham crackers and chocolate!
Nintendo patents stuff all the time so I don't expect this to mean anything. But history (Sega CD, 32X) would seem to indicate this is a bad idea. Generally there is a finite product lifecycle. Things like revisions (DSi, New3DS) can extend the life some, but fewer and fewer people buy each revision as fewer and fewer people would keep upgrading dated electronics.
Eventually you just need a new product to generate consumer excitement.
VR box like PSVR?! I like the possibilities .
Does anybody remember a patent Nintendo filed a couple of years ago, about swappable physical buttons? It showed how a device could have interchangeable joysticks and d-pads for different button configurations on one device. It seemed like a pretty cool idea to me, as long as somebody didn't lose the pieces lol.
Here is the link to IGN's article:
http://www.ign.com/articles/2014/05/01/nintendo-patents-handheld-with-swappable-buttons
I really think this would be a surprise move by Nintendo if they incorporated it into the NX somehow, and I think it would be both innovative and genuinely appealing.
Well in theory it sounds good I just hope it turns out better than all the speculations combined.
While the technology is interesting this will never take off. How are devs supposed to make games for a console when the specs of a console can vary between a low performance and a high performance mode like that. Unless the external processor is only used for graphics(which I'm pretty sure has already been patented) the only way to actually develope a game under those constraints is to target it at the lower performance range. The cloud resource thing is even more ludicrous. How would developers ever be able to reliably take advantage of processing resources on a completely separate computing device over the internet, whose bandwidth is not at all fixed, and can be disconnected at anytime without warning!
Seriously, as a computer engineer I can tell you now: There is no way this will work. Not for a game console anyways.
@KoopaTheGamer I still don't understand how the community didn't support something with "DD" in it.
@sandman89 Technically, it is not too late for the NX. Products are constantly released under the notion of "patent pending." This is why you see so many cases go to court. I even think that the Wii fell into this.
Haha there's no way they would patent this only a couple of months before announcing the console if it was related to NX.
@sandman89 No it's not, because we have no idea if the specs of the NX allow for this possibility.
@ithari42 Well, devs seem to make it work with the 3DS and New3DS.
This is just a more drastic version of that, where the console gets these things that act like upgrade kits instead of having whole new consoles release.
It might also save them on dev costs while allowing them to extend the life of a console.
Think of it like the N64 expansion pack on steroids.
@Zapazoid They didn't patent this only a couple of months ago. I remember seeing this patent on NintendoLife forever ago. What the article says is that there were errors with the patent, and Nintendo has to resubmit it. So now after submitting it for a second time, it has finally passed. Products release without patents all the time. This patent was filled way in advance.
I don't think this is really on the cards for NX.
Maybe this upgrades the Wii U's power or hard drive capacity or both and makes it a NX compatible device?
Sounds like a 32x for Wii U
Odd considering Nintendo have sold supplemental computing decives a few times before as have Sega. The cloud computing thing has also sort of been done before.
@ROBLOGNICK I'm curious to find out which of Nintendo's console addons you'd consider supplemental computing devices, since they have literally never released something resembling anything even close to the functionalities described in the current patent.
The thing that comes closest, is the N64 Expansion Pak, and arguably the FX chip in some SNES cartridges, but the 64DD was only a disk drive for local DLC, so it did not add any strength to the console. Other than that, I don't think there were any other peripherals that would apply.
@TheRealThanos Wow, douchey response much?
The 64DD still counts as a supplemental add on. It provides features the original system was not capable of doing. Plus the 64DD could connect to the internet actually.
The Famicom Disk System added additional memory and internet connection.
The Satellaview.
@ROBLOGNICK No, nothing douchey, so I think you just read that into it. I was genuinely wondering, and curious if I missed something. If it was meant in a smart@ss way, I wouldn't have summed up all these devices and would have just thrown some BS at you.
And see, you came up with the Sattelaview; a system I forgot, so that was the answer I was looking for, thanks.
But it is like I said earlier, though: supplemental computing devices these are not, by and large. The 64DD added textures, levels, music etc. Not specifically things that the N64 itself couldn't do, but it just wouldn't have fit on one cartridge. I believe that there was once even talk of Mario 64 2, as a replacement for the failed 64DD addon stuff, but correct me if I'm wrong.
Once again, genuinely interested, so please don't read to much into my comments since there is no between the lines or ulterior motive; WYSIWYG...
@TheRealThanos The 64DD could read and write onto disks which the N64 could do without this add on. It added a real-time clock. It added a modem. It added sounds libraries to be made available to all software. It's had it's own 32-bit co-processor which worked in tandem with the N64 to ensure the N64s own processors were not used when reading and writing. Not to mention that you had to plug it in to the N64 to use it. I'm not sure how more supplemental you can get?
And for what it's worth, you bolding of the word literally, adding emphasis to that word in particular is what gave your comment the douchey tone. It wasn't even a necessary word, it certainly didn't need to be made bold.
@ROBLOGNICK Yeah, I can see why you'd think that, but it was in relation to the current patent, and that indeed describes something considerably more advanced and as such it doesn't resemble any of the old add on devices.
(and please note that the emphasis concerning the difference is on computing device, not on supplemental)
And what you described concerning the 64DD confirms that it doesn't as well. It is more a case of having some hardware incorporated to alleviate the main processor in the N64, not to add to it in such a way that the N64 can do a whole lot more and becomes more powerful, which is what the patented device is supposedly able to do for the NX. You could at the very least see eye to eye with me on that part.
But if not, no offense taken, nor on the me apparently being douchey part...
Super Wii U confirmed? https://www.youtube.com/watch?v=-pnPdd6Mcco&ab_channel=gridvid
It would be a swerve If the Wii U plugged into the NX wouldn't it ?
Highly doubt it, but you never know.
Even if you live in the First World, if you don't live in the city, this is not true: "especially in this age of improved home broadband connections".
So.. will it be similar to Amiga? Additional cards (or "supplements") with modules/CPUs/RAM/IDE or Flash connectors included?
Is it not possible that this is just finally a patent on the Wii U being passed?
Device 102 being the Wii U console
Device 104 being and external HDD
Device 110 being the Gamepad Controller?
The supplementary device is another NX unit. Works just like SLI graphics card.
NX games in the future will have system requirement:
"You need 4 NXs daisy chained together to play on 4K TV at 60fps."
When you look at patents like this, the focus on cloud storage, the my Nintendo rewards program, and the portable/console hybrid I'm starting to think Nintendo is headed to a digital only future. It would make sense at this point considering they aren't in the same position as their competitors to both have Peach's cake and eat it too.
It's also likely that an online connection will be mandatory as well.
brandonbwii, no way will they force an internet connection.. there will be multiple ways you can use it and a local offline will be an option by default.. No chance it will be digital only..
Ummmm... Prior art.... this will never be defendable in court.
This "rumor" sounds cool (as does some of the others). But if this one in particular has any truth to what the NX can be in regards to the upgradable theory in it then Sony's rumored PS4K (Neo) would be an outdated piece of hardware out the door almost.
(I wonder if Nintendo finds it important to add 4K to the NX at launch?)
You'll be able to chain link as many NX-consoles as you want, and build the ultimate Nintendo gaming monstrosity, provided you have the cash! :---D
One possibility for the NX is that if it is a hybrid, then the supplemental device stays at home while you take your NX outside.
Show Comments
Leave A Comment
Hold on there, you need to login to post a comment...